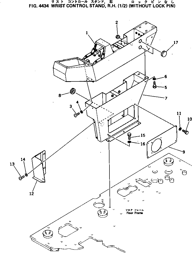
Запчасти Komatsu PC300LC-3 WRIST УПРАВЛ-Е И СТОЙКА¤ ПРАВ. (/) (БЕЗ БЛОКИР. ПАЛЕЦ)(№9-) ПОВОРОТН. И СИСТЕМА УПРАВЛЕНИЯ

Схема запчастей Komatsu PC300LC-3 - WRIST УПРАВЛ-Е И СТОЙКА¤ ПРАВ. (/) (БЕЗ БЛОКИР. ПАЛЕЦ)(№9-) ПОВОРОТН. И СИСТЕМА УПРАВЛЕНИЯ
FIT
1:1
100%

Артикул

Название

Примечание

Количество

1

205-43-71254

BOX

2

08037-02512

GROMMET

3

198-911-3430

SCREW

4

198-911-3160

WASHER

5

01010-50820

BOLT

6

01643-30823

WASHER

7

207-43-33111

CASE

8

08037-02512

GROMMET

9

205-43-71673

COVER

10

01010-50820

BOLT

11

01643-30823

WASHER

12

207-43-33270

COVER

13

198-911-3430

SCREW

14

198-911-3160

WASHER

15

01010-51225

BOLT

16

01643-31232

WASHER

17

09415-02512

CAP

Выбрано товаров: 0