Запчасти Komatsu PC300LC-3 P.P.C. КЛАПАН ТРУБЫ (/) (ДЛЯ WRIST УПРАВЛ-Е) (АВТОМ. ЗАМЕДЛЕНИЕ ОБОРОТОВ) (С ПОВОРОТН. МЕХАНИЧ. ТОРМОЗ.)(№-888) ПОВОРОТН. И СИСТЕМА УПРАВЛЕНИЯ

Схема запчастей Komatsu PC300LC-3 - P.P.C. КЛАПАН ТРУБЫ (/) (ДЛЯ WRIST УПРАВЛ-Е) (АВТОМ. ЗАМЕДЛЕНИЕ ОБОРОТОВ) (С ПОВОРОТН. МЕХАНИЧ. ТОРМОЗ.)(№-888) ПОВОРОТН. И СИСТЕМА УПРАВЛЕНИЯ
FIT
1:1
100%

Артикул

Название

Примечание

Количество

|$0

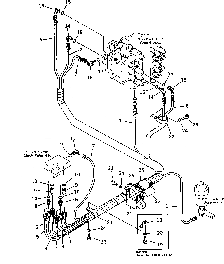
207-62-33621

HOSE ASS'Y

1

07102-20322

HOSE,(RED)

2

07102-20327

HOSE,(GREEN)

3

07102-20323

HOSE,(BLACK)

4

07102-20324

HOSE,(BLUE)

5

07102-20328

HOSE,(YELLOW)

6

07102-20325

HOSE,(WHITE)

7

207-62-33650

HOSE

8

205-62-55270

NIPPLE

9

207-62-33951

NIPPLE

9

207-62-33950

NIPPLE

10

07002-01423

O-RING

11

07235-10210

ELBOW

12

07002-01423

O-RING

13

07235-10315

ELBOW

14

07235-10315

ELBOW

15

07002-02034

O-RING

16

208-62-17550

TEE

17

07002-01423

O-RING

18

207-62-33560

BRACKET

19

01010-51225

BOLT

20

01643-31232

WASHER

21

21K-03-11190

CLIP

22

08036-03014

CLIP

22

21K-03-11190

CLIP

23

01010-51225

BOLT

24

01643-31232

WASHER

25

207-62-33990

GROMMET

26

205-62-53780

COVER

27

08034-00876

BAND

Выбрано товаров: 30