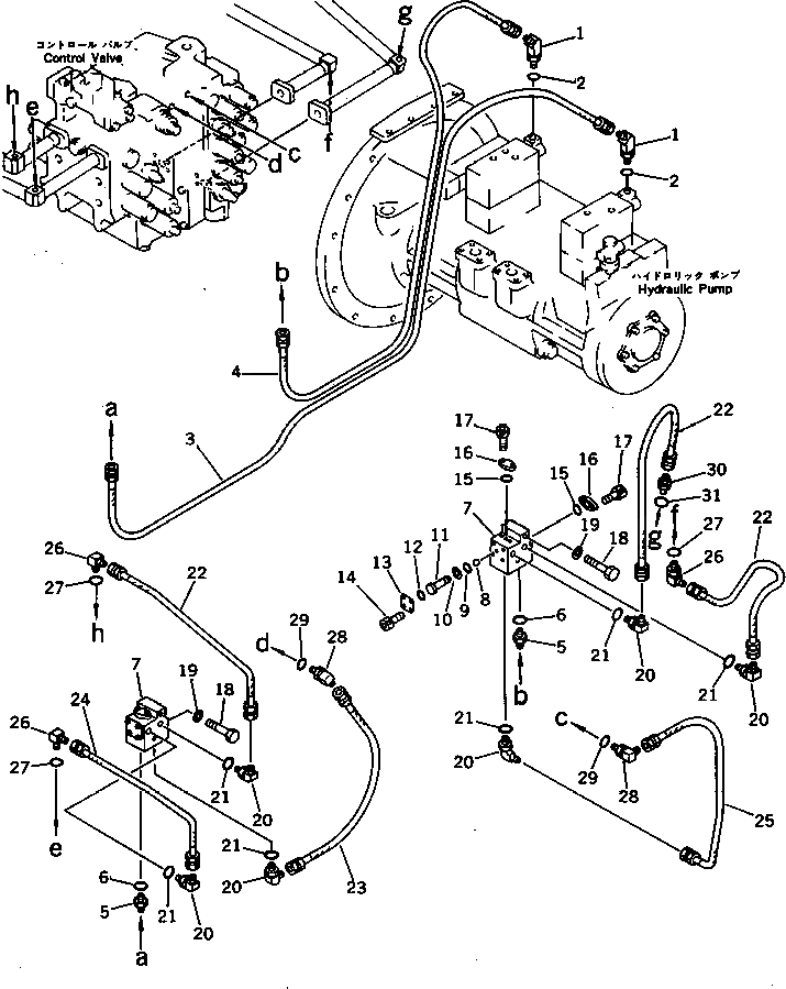
Запчасти Komatsu PC300LC-3 РАЗГРУЗ. КЛАПАН ТРУБЫ (ДЛЯ ХОДА) ПОВОРОТН. И СИСТЕМА УПРАВЛЕНИЯ

Схема запчастей Komatsu PC300LC-3 - РАЗГРУЗ. КЛАПАН ТРУБЫ (ДЛЯ ХОДА) ПОВОРОТН. И СИСТЕМА УПРАВЛЕНИЯ
FIT
1:1
100%

Артикул

Название

Примечание

Количество

1

07236-10210

ELBOW

2

205-62-74370

O-RING

3

07082-00221

HOSE

4

07082-00215

HOSE

5

07230-20210

UNION

5

07230-10210

UNION

6

205-62-74370

O-RING

|$7

207-60-00070

SHUTTLE VALVE ASS'Y

7

207-60-31410

BLOCK

8

700-84-11730

BALL

9

07000-11003

O-RING

10

07001-01003

RING,BACK-UP

11

709-70-91320

PLUG

12

07000-12012

O-RING

13

709-70-91330

PLATE

14

01252-30616

BOLT

15

07000-11009

O-RING

16

709-70-91340

PLATE

17

01252-30616

BOLT

18

01010-51075

BOLT

19

01643-31032

WASHER

20

07235-10210

ELBOW

21

205-62-74370

O-RING

22

07082-00206

HOSE

23

07082-00206

HOSE

24

07082-00205

HOSE

25

07082-00207

HOSE

26

07235-10210

ELBOW

27

205-62-74370

O-RING

28

205-62-74190

ELBOW

29

205-62-74360

O-RING

30

07230-20210

UNION

30

07230-10210

UNION

31

205-62-74370

O-RING

Выбрано товаров: 34