Запчасти Komatsu PC300LC-3 ОБОГРЕВАТЕЛЬ.(№889-) ОСНОВНАЯ РАМА И КАБИНА

Схема запчастей Komatsu PC300LC-3 - ОБОГРЕВАТЕЛЬ.(№889-) ОСНОВНАЯ РАМА И КАБИНА
FIT
1:1
100%

Артикул

Название

Примечание

Количество

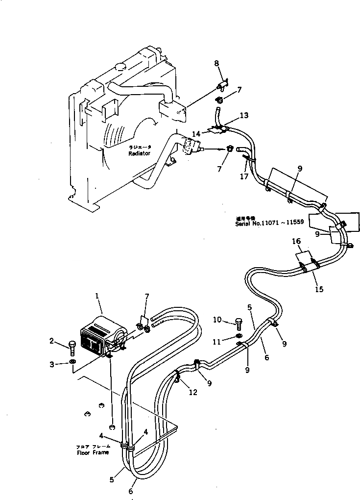
1

205-977-7111

HEATER UNIT

1

205-977-7110

HEATER UNIT

2

01010-51020

BOLT

3

01643-31032

WASHER

4

205-977-7310

GROMMET

5

09483-00456

HOSE

6

09483-00451

HOSE

7

07281-00259

CLAMP

8

09482-20000

VALVE,HEATER

9

141-06-11220

CLIP

9

141-06-11220

CLIP

10

01010-51225

BOLT

10

01010-51225

BOLT

11

01643-31232

WASHER

11

01643-31232

WASHER

12

08034-00536

BAND

13

205-62-72240

COVER

14

08034-00823

BAND

15

205-62-53780

COVER

16

08034-00823

BAND

17

08034-00519

BAND

Выбрано товаров: 21