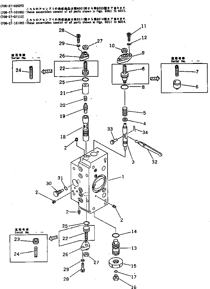
Запчасти Komatsu PC300LC-3 СЕРВОКЛАПАН¤ ПЕРЕДН. (/) (С -STAGE SELECTOR MODE OLSS) УПРАВЛ-Е РАБОЧИМ ОБОРУДОВАНИЕМ

Схема запчастей Komatsu PC300LC-3 - СЕРВОКЛАПАН¤ ПЕРЕДН. (/) (С -STAGE SELECTOR MODE OLSS) УПРАВЛ-Е РАБОЧИМ ОБОРУДОВАНИЕМ
FIT
1:1
100%

Артикул

Название

Примечание

Количество

|$0

708-27-02035

HYDRAULIC PUMP ASS'Y,(HPV 160+160)

|$1

708-27-02034

HYDRAULIC PUMP ASS'Y,(HPV 160+160)

|$2

708-27-02033

HYDRAULIC PUMP ASS'Y,(HPV 160+160)

|$3

708-27-02032

HYDRAULIC PUMP ASS'Y,(HPV 160+160)

|$4

708-27-02031

HYDRAULIC PUMP ASS'Y,(HPV 160+160)

|$5

708-27-02030

HYDRAULIC PUMP ASS'Y,(HPV 160+160)

|$6

708-27-10120

PUMP ASS'Y,(HPV 160+160)

|$7

708-27-07122

SERVO VALVE ASS'Y,FRONT

|$8

708-27-07121

SERVO VALVE ASS'Y,FRONT

|$9

708-27-07120

SERVO VALVE ASS'Y,FRONT

|$10

708-27-15100

SERVO VALVE ASS'Y,FRONT

|$11

708-27-25200

VALVE SUB ASS'Y

|$12

708-23-07011

BODY ASS'Y

|$13

708-23-07010

BODY ASS'Y

1

BODY

2

EXPANDER

2

PLUG

3

708-25-15120

PISTON

4

708-27-25130

SEAT

5

708-27-25110

SPRING

6

708-23-15120

SEAT

7

708-27-25120

SPRING

8

708-23-15160

PLUG

8

708-23-15140

PLUG

9

708-25-15340

SCREW

10

07000-02018

O-RING

11

708-25-15150

COVER

12

01580-10806

NUT

13

708-25-15320

BOLT

13

01252-30616

BOLT

14

01602-20619

WASHER

15

708-25-15171

PLUG

16

07002-02034

O-RING

17

07239-12009

NUT

18

07040-11007

PLUG

19

07002-01023

O-RING

20

708-25-15180

SLEEVE

21

708-25-15280

SPOOL

22

708-25-15310

SPRING

23

708-25-15330

SPACER

23

708-25-15290

SPACER

24

708-25-15430

PLUG

24

708-25-15240

PLUG

25

07000-02012

O-RING

26

708-25-15250

COVER

27

01580-10806

NUT

28

708-25-15320

BOLT

28

01252-30616

BOLT

29

01602-20619

WASHER

30

708-25-15260

PLUG

31

07002-00823

O-RING

32

708-67-16260

ARM

33

04205-00514

PIN

34

04050-01210

PIN

35

708-25-15340

SCREW

Выбрано товаров: 55