Запчасти Komatsu PC300LC-3 ГИДРАВЛ МАСЛ. БАК (С АНТИВАНДАЛЬН.)(№97-7) УПРАВЛ-Е РАБОЧИМ ОБОРУДОВАНИЕМ

Схема запчастей Komatsu PC300LC-3 - ГИДРАВЛ МАСЛ. БАК (С АНТИВАНДАЛЬН.)(№97-7) УПРАВЛ-Е РАБОЧИМ ОБОРУДОВАНИЕМ
FIT
1:1
100%

Артикул

Название

Примечание

Количество

|$0

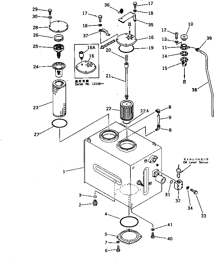
207-60-00045

HYDRAULIC TANK ASS'Y

|$1

207-60-00044

HYDRAULIC TANK ASS'Y

|$2

207-60-00043

HYDRAULIC TANK ASS'Y

1

207-60-31113

TANK

2

07044-13620

PLUG

3

07002-03634

O-RING

4

07000-05240

O-RING

5

205-60-71132

COVER

6

01010-51230

BOLT

7

01643-31232

WASHER

8

203-60-31100

ELBOW ASS'Y

9

203-60-31160

TUBE

10

201-60-12190

CAP ASS'Y

11

201-60-12171

FILLER NECK

12

01220-40516

SCREW

13

01601-20513

WASHER,SPRING

14

205-60-51460

GASKET

15

205-60-51480

SCREEN

16

207-60-31120

COVER

16

203-60-31192

COVER

16A

424-U40-1120

BREATHER,(SEE FIG.6111)

17

01010-51035

BOLT

18

01643-31032

WASHER

19

07000-05180

O-RING

20

12R-60-11230

SPRING

21

205-60-71170

SUPPORT

22

205-60-51450

STRAINER

22A

07000-05075

O-RING

23

205-60-51430

ELEMENT

24

206-60-41221

STRAINER

24

206-60-41220

STRAINER

25

12R-60-11300

VALVE ASS'Y

26

12R-60-11390

SPRING

27

07000-05180

O-RING

28

205-60-71141

COVER

29

01010-51230

BOLT

30

01643-31232

WASHER

31

07000-02055

O-RING

32

600-815-3210

CASE

33

01010-51075

BOLT

34

01643-31032

WASHER

35

205-60-71190

COVER

36

205-60-71220

LOCK ASS'Y

37

205-60-71210

BRACKET

38

207-60-11350

TUBE

39

07285-00100

CLIP

40

01010-51635

BOLT

41

01643-31645

WASHER

Выбрано товаров: 48