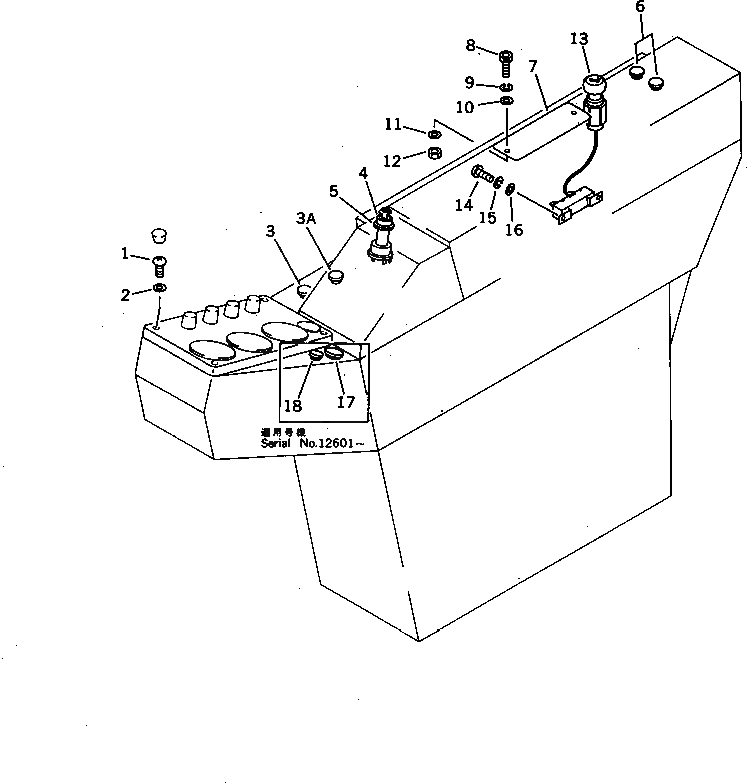
Запчасти Komatsu PC300LC-3 ПАНЕЛЬ ПРИБОРОВ(/)(ДЛЯ WRIST УПРАВЛ-Е¤ANALOG ПАНЕЛЬ)(W/O АВТОМАТИЧ. DECEL.¤ПОВОРОТН. MECHA. ТОРМОЗ.¤W/-STAGE) КОМПОНЕНТЫ ДВИГАТЕЛЯ И ЭЛЕКТРИКА

Схема запчастей Komatsu PC300LC-3 - ПАНЕЛЬ ПРИБОРОВ(/)(ДЛЯ WRIST УПРАВЛ-Е¤ANALOG ПАНЕЛЬ)(W/O АВТОМАТИЧ. DECEL.¤ПОВОРОТН. MECHA. ТОРМОЗ.¤W/-STAGE) КОМПОНЕНТЫ ДВИГАТЕЛЯ И ЭЛЕКТРИКА
FIT
1:1
100%

Артикул

Название

Примечание

Количество

1

205-06-78190

SCREW

2

205-06-78210

WASHER

3

09415-00706

CAP

3A

09415-01610

CAP

4

207-06-31320

SWITCH

5

205-26-91140

SPACER

6

09415-00706

CAP

7

203-06-31160

PLATE

8

205-06-62170

BOLT

9

205-06-62180

WASHER,SPRING

10

205-06-62190

WASHER

11

145-Z79-6630

WASHER

12

01580-10403

NUT

13

195-822-6151

LIGHTER

14

01220-40408

SCREW

15

01601-20410

WASHER,SPRING

16

01641-20405

WASHER

17

09415-01610

CAP

18

09415-00706

CAP

Выбрано товаров: 19