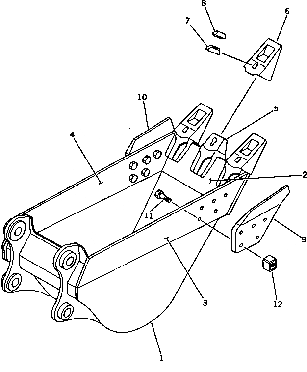
Запчасти Komatsu PC300LC-3 КОВШ¤ .M.¤ ШИР. MM РАБОЧЕЕ ОБОРУДОВАНИЕ

Схема запчастей Komatsu PC300LC-3 - КОВШ¤ .M.¤ ШИР. MM РАБОЧЕЕ ОБОРУДОВАНИЕ
FIT
1:1
100%

Артикул

Название

Примечание

Количество

1

207-926-3210

BUCKET

2

207-926-3220

PLATE (WELDED)

3

207-70-34120

PLATE,L.H. (WELDED)

4

207-70-34130

PLATE,R.H. (WELDED)

5

207-70-34151

ADAPTER (WELDED)

6

207-70-34212

TOOTH

6

207-70-34211

TOOTH

7

207-70-34221

PIN

8

205-70-74291

LOCK

8

205-70-74290

LOCK

9

207-70-34161

CUTTER,L.H.

9

207-70-34160

CUTTER,L.H.

10

207-70-34171

CUTTER,R.H.

10

207-70-34170

CUTTER,R.H.

11

195-32-11210

BOLT, SHOE

12

195-32-11221

NUT, SHOE

Выбрано товаров: 16