Запчасти Komatsu PC300LC-3 ОПОРНЫЙ КАТОК ПОЛН. ЗАЩИТА ОПЦИОННЫЕ КОМПОНЕНТЫ

Схема запчастей Komatsu PC300LC-3 - ОПОРНЫЙ КАТОК ПОЛН. ЗАЩИТА ОПЦИОННЫЕ КОМПОНЕНТЫ
FIT
1:1
100%

Артикул

Название

Примечание

Количество

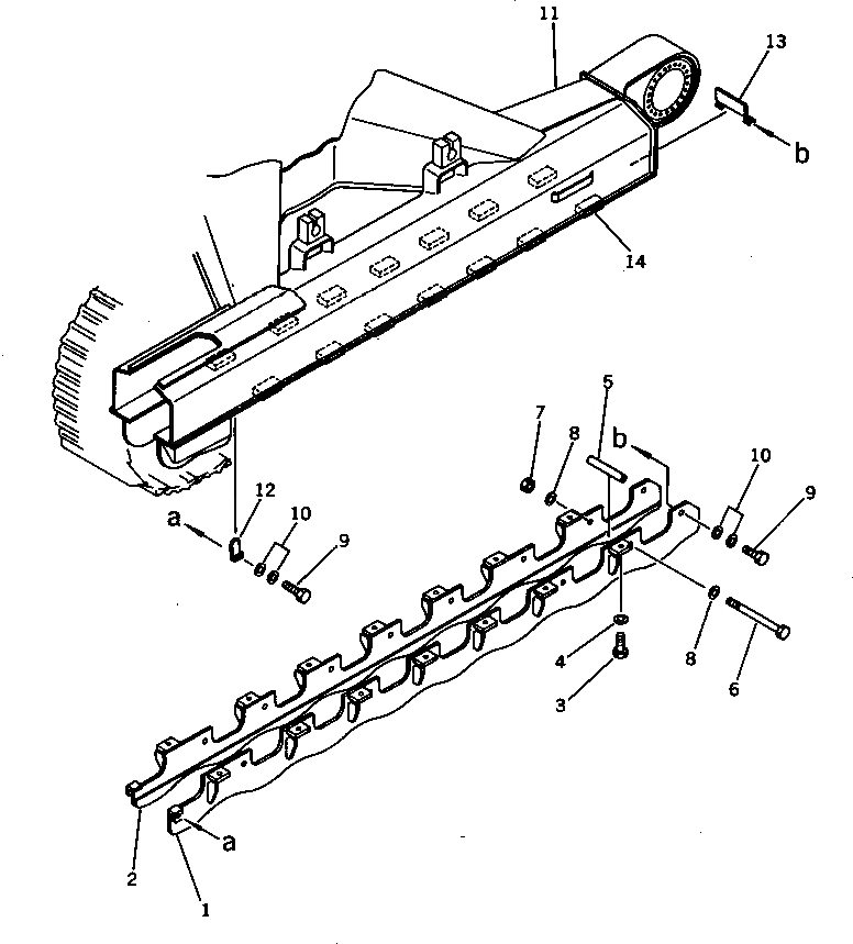
1

207-30-31560

GUARD,L.H.

2

207-30-31570

GURAD,R.H.

3

01010-51855

BOLT

4

01643-31845

WASHER

5

141-30-32181

COLLAR

6

09205-18340

BOLT

7

01580-11815

NUT

8

01643-31845

WASHER

9

01010-51850

BOLT

10

01643-31845

WASHER

11

207-30-31550

FRAME

12

207-30-31240

PLATE (WELDED)

13

207-30-31250

PLATE,L.H. (WELDED)

13

207-30-31260

PLATE,R.H. (WELDED)

14

207-30-31190

SEAT (WELDED)

Выбрано товаров: 0