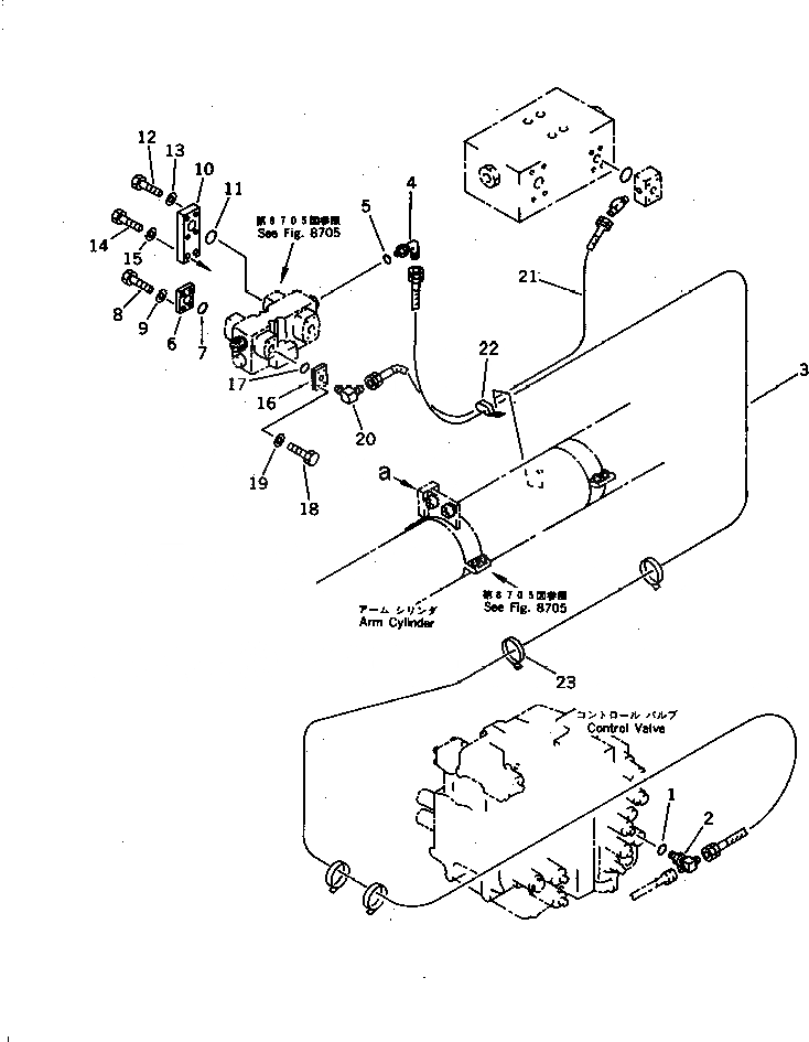
Запчасти Komatsu PC300LC-3 ЛИНИЯ ЗАКРЫВАЮЩЕГО КЛАПАНА (ДЛЯ ЦИЛИНДРА РУКОЯТИ) ОПЦИОННЫЕ КОМПОНЕНТЫ

Схема запчастей Komatsu PC300LC-3 - ЛИНИЯ ЗАКРЫВАЮЩЕГО КЛАПАНА (ДЛЯ ЦИЛИНДРА РУКОЯТИ) ОПЦИОННЫЕ КОМПОНЕНТЫ
FIT
1:1
100%

Артикул

Название

Примечание

Количество

1

07002-02034

O-RING

2

206-62-43230

TEE

3

07102-20293

HOSE

4

21P-62-11590

ELBOW

5

07000-02011

O-RING

6

208-62-34660

COVER

7

07000-13030

O-RING

8

01010-51025

BOLT

9

01643-31032

WASHER

10

208-62-34720

COVER

11

07000-13032

O-RING

12

01010-51440

BOLT

13

01643-31445

WASHER

14

01010-51235

BOLT

15

01643-31232

WASHER

16

208-62-34650

FLANGE

17

07000-13030

O-RING

18

01010-51025

BOLT

19

01643-31032

WASHER

20

205-62-53461

ELBOW

21

07102-20396

HOSE

22

141-01-33250

CLIP

23

08034-00519

BAND

Выбрано товаров: 23