Запчасти Komatsu PC300LC-3 ЗАКРЫВАЮЩИЙ КЛАПАН(/) (США СПЕЦ-Я.) СПЕЦ. APPLICATION ЧАСТИ¤ МАРКИРОВКА¤ ИНСТРУМЕНТ И РЕМКОМПЛЕКТЫ

Схема запчастей Komatsu PC300LC-3 - ЗАКРЫВАЮЩИЙ КЛАПАН(/) (США СПЕЦ-Я.) СПЕЦ. APPLICATION ЧАСТИ¤ МАРКИРОВКА¤ ИНСТРУМЕНТ И РЕМКОМПЛЕКТЫ
FIT
1:1
100%

Артикул

Название

Примечание

Количество

|$0

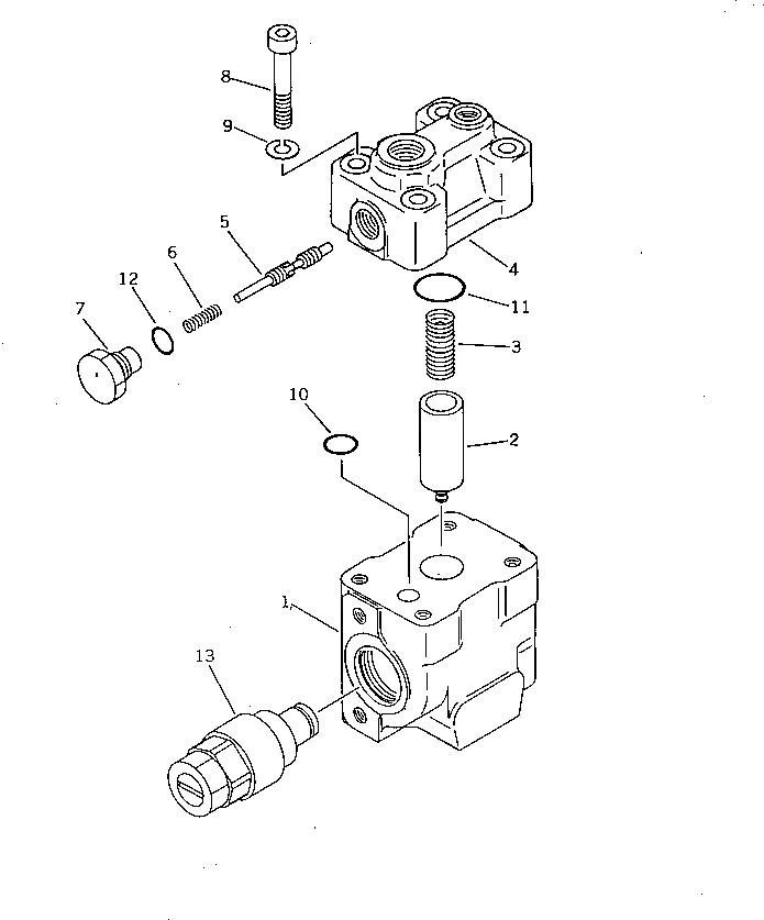
702-21-31000

LOCK VALVE ASS'Y

1

702-21-31110

BODY,(A)

2

702-21-31120

CHECK

3

702-21-31130

SPRING

4

BODY,(B)

5

SPOOL

6

702-21-31230

SPRING

7

702-21-31240

PLUG

8

706-73-40330

BOLT

9

01602-21030

WASHER,SPRING

10

07000-02020

O-RING

11

07000-13030

O-RING

12

07002-01823

O-RING

13

709-90-62100

SAFETY VALVE ASS'Y

Выбрано товаров: 14