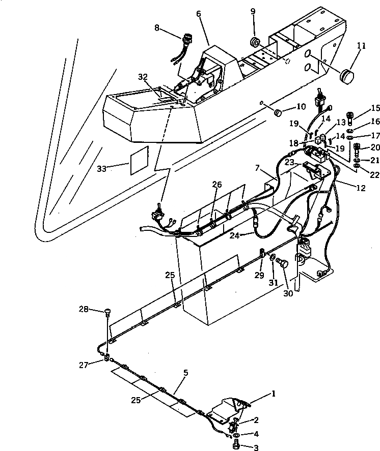
Запчасти Komatsu PC300LC-3 ПАНЕЛЬ ПРИБОРОВ (ДЛЯ FREE ПОВОРОТН.) (США СПЕЦ-Я.)(№-) СПЕЦ. APPLICATION ЧАСТИ¤ МАРКИРОВКА¤ ИНСТРУМЕНТ И РЕМКОМПЛЕКТЫ

Схема запчастей Komatsu PC300LC-3 - ПАНЕЛЬ ПРИБОРОВ (ДЛЯ FREE ПОВОРОТН.) (США СПЕЦ-Я.)(№-) СПЕЦ. APPLICATION ЧАСТИ¤ МАРКИРОВКА¤ ИНСТРУМЕНТ И РЕМКОМПЛЕКТЫ
FIT
1:1
100%

Артикул

Название

Примечание

Количество

1

207-43-33530

BRACKET

2

21T-06-11901

SWITCH ASS'Y

3

01010-50816

BOLT

4

01643-30823

WASHER

5

207-06-32670

WIRING HARNESS

6

205-43-71254

BOX,R.H.

6

207-43-33510

BOX,R.H.

7

207-06-32690

WIRING HARNESS

8

207-06-32680

LAMP

8

08111-12430

BULB, 3W

9

08037-02512

GROMMET

10

09415-01610

CAP

11

09415-02512

CAP

12

207-06-32610

WIRING HARNESS

13

20K-06-11260

RELAY

14

20K-06-11280

SPRING

15

01252-40416

BOLT

16

01601-20410

WASHER,SPRING

17

01641-20405

WASHER

18

207-06-32630

RELAY

19

20K-06-11280

SPRING

20

01252-40416

BOLT

21

01601-20410

WASHER,SPRING

22

01641-20405

WASHER

23

207-06-32650

BRACKET

24

207-06-32660

WIRING HARNESS

25

205-54-72710

CLIP

26

08034-00519

BAND

27

283-06-17130

CLIP

28

01220-40608

SCREW

29

145-01-42120

CLIP

30

01010-51225

BOLT

31

01643-31232

WASHER

32

207-00-31560

PLATE

33

207-00-31570

PLATE, MARK

Выбрано товаров: 35