Запчасти Komatsu PC300LC-3 ГИДРОЛИНИЯ (УПРАВЛЯЮЩ. КЛАПАН TO/FROM ПОВОРОТНОЕ СОЕДИНЕНИЕ) ХОД И КОНЕЧНАЯ ПЕРЕДАЧА

Схема запчастей Komatsu PC300LC-3 - ГИДРОЛИНИЯ (УПРАВЛЯЮЩ. КЛАПАН TO/FROM ПОВОРОТНОЕ СОЕДИНЕНИЕ) ХОД И КОНЕЧНАЯ ПЕРЕДАЧА
FIT
1:1
100%

Артикул

Название

Примечание

Количество

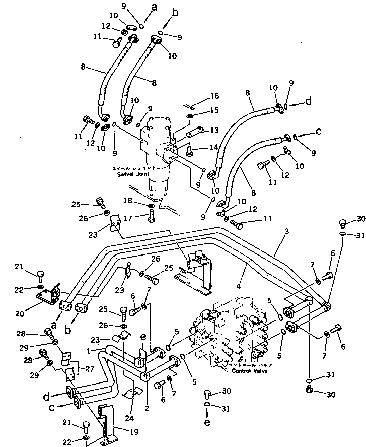
1

207-62-32110

TUBE

2

207-62-32120

TUBE

3

207-62-32140

TUBE

4

207-62-32131

TUBE

5

21T-09-11470

O-RING

6

07372-21040

BOLT

7

01643-51032

WASHER

8

07098-00606

HOSE

9

07000-13025

O-RING

10

07371-30638

FLANGE,SPLIT

11

01010-50830

BOLT

12

01643-50823

WASHER

13

209-62-14430

PLATE

14

201-60-11230

PIN

15

01641-21626

WASHER

16

04050-14025

PIN,COTTER

17

01010-51235

BOLT

18

01643-31232

WASHER

19

207-62-31641

BRACKET

20

207-62-31651

BRACKET

21

01010-51230

BOLT

22

01643-31232

WASHER

23

207-62-31340

CLAMP

24

207-62-31360

CLAMP

25

01010-51030

BOLT

26

01643-31032

WASHER

27

207-62-31330

CLAMP

28

01010-51030

BOLT

29

01643-31032

WASHER

30

07040-11409

PLUG

31

205-62-74370

O-RING

Выбрано товаров: 0