Запчасти Komatsu PC300LC-3 ГУСЕНИЧНАЯ РАМА (БЕЗ БЛОКИР. ПАЛЕЦ)(№9-) ХОДОВАЯ

Схема запчастей Komatsu PC300LC-3 - ГУСЕНИЧНАЯ РАМА (БЕЗ БЛОКИР. ПАЛЕЦ)(№9-) ХОДОВАЯ
FIT
1:1
100%

Артикул

Название

Примечание

Количество

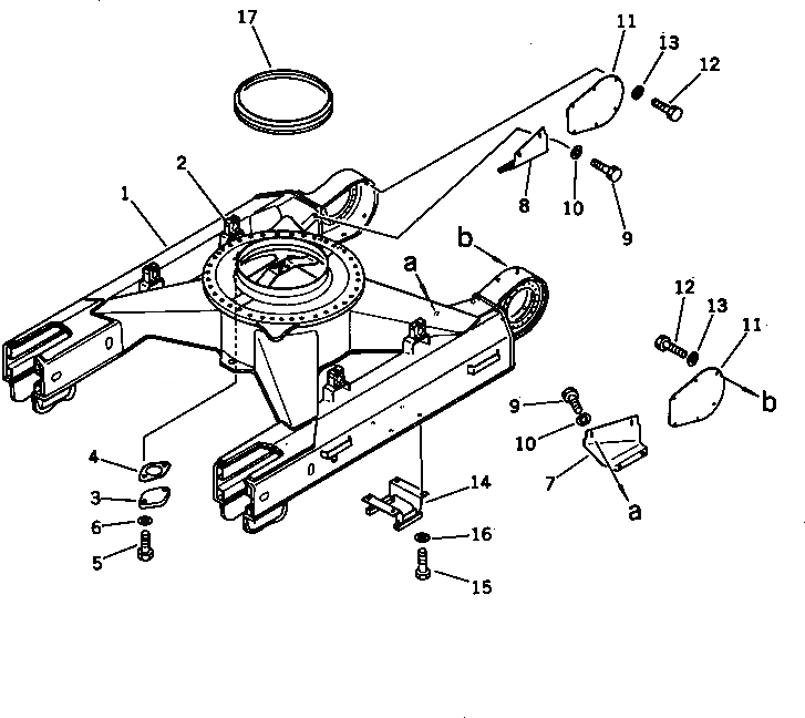
1

207-30-31590

FRAME,TRACK

2

207-30-31270

SUPPORT (WELDED)

3

205-30-71181

COVER

4

205-30-71191

GASKET

5

01010-51230

BOLT

6

01643-31232

WASHER

7

207-30-31530

COVER,L.H.

8

207-30-31540

COVER,R.H.

9

01010-51230

BOLT

10

01643-31232

WASHER

11

207-30-31151

COVER

12

01010-51230

BOLT

13

01643-31232

WASHER

14

207-30-32111

GUARD

15

01010-52455

BOLT

16

01643-32460

WASHER

17

207-30-31120

SEAL

Выбрано товаров: 17