Запчасти Komatsu PC300LC-3 ПОВОРОТН. КРУГ(№-) ПОВОРОТН. И СИСТЕМА УПРАВЛЕНИЯ

Схема запчастей Komatsu PC300LC-3 - ПОВОРОТН. КРУГ(№-) ПОВОРОТН. И СИСТЕМА УПРАВЛЕНИЯ
FIT
1:1
100%

Артикул

Название

Примечание

Количество

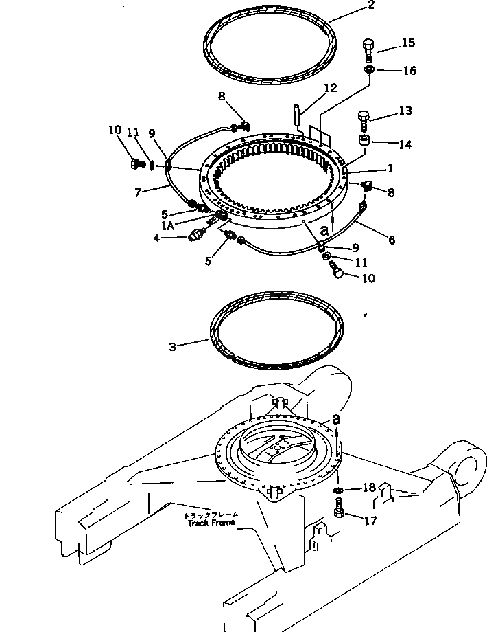
|$0

207-25-00022

SWING CIRCLE ASS'Y

|$1

207-25-00021

SWING CIRCLE ASS'Y

1

CIRCLE,SWING

1A

205-25-71280

NIPPLE

2

207-25-31120

SEAL

3

207-25-31130

SEAL

4

07020-00000

FITTING,GREASE

5

07213-50813

CONNECTOR

6

207-25-31152

TUBE

7

207-25-31162

TUBE

8

207-70-11740

ELBOW

9

08036-00814

CLIP

9

21T-62-25740

CLIP

10

01010-51020

BOLT

11

01643-31032

WASHER

12

04020-01842

PIN,DOWEL

13

208-25-11130

BOLT

14

207-25-31170

SPACER

15

207-25-31190

BOLT

16

01643-32460

WASHER

17

207-25-31180

BOLT

18

01643-32460

WASHER

Выбрано товаров: 22