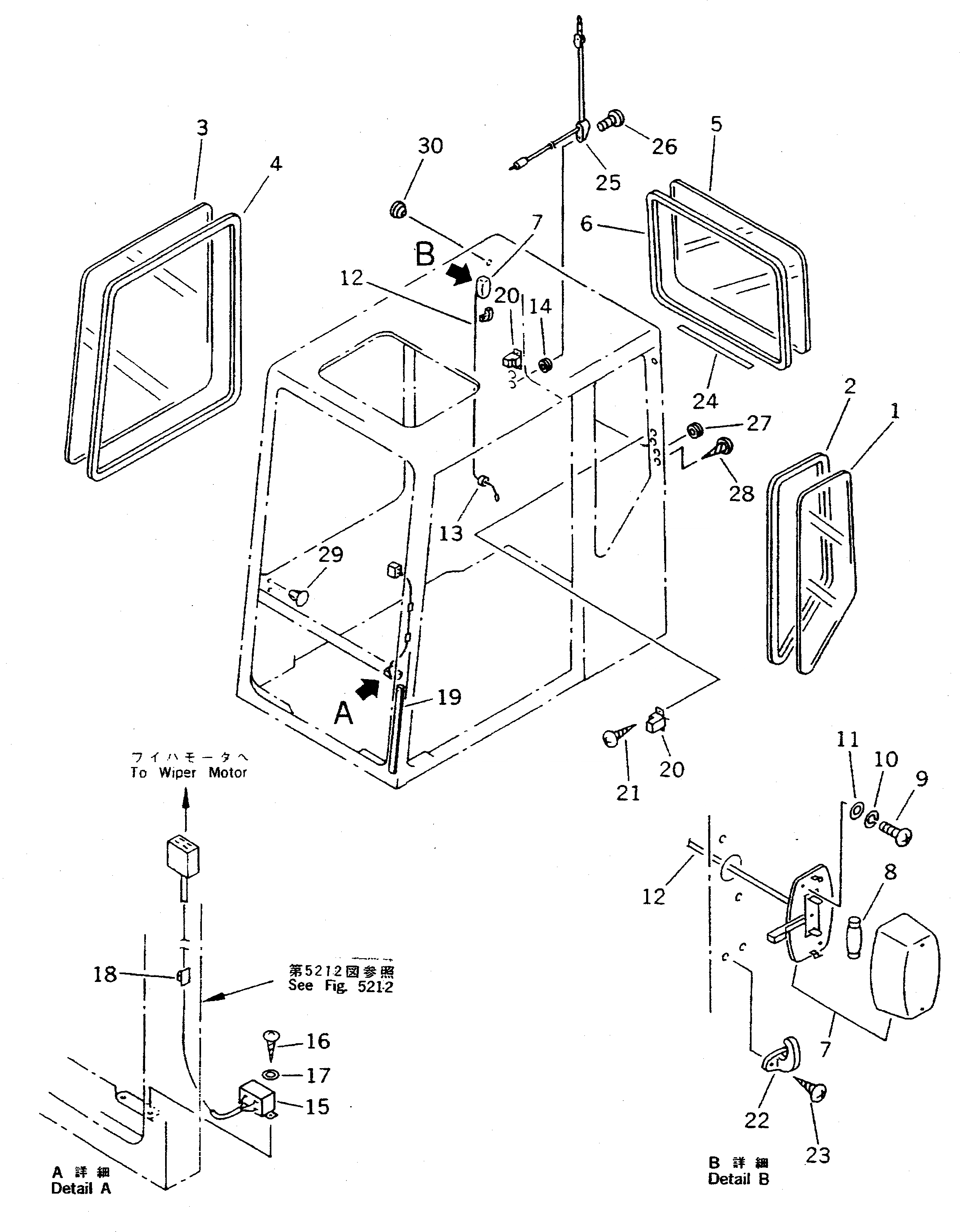
Запчасти Komatsu PC300LC-5 КАБИНА (/7) ( И ЗАДН. ОКНА) (ДЛЯ США И CANADA) ЧАСТИ КОРПУСА

Схема запчастей Komatsu PC300LC-5 - КАБИНА (/7) ( И ЗАДН. ОКНА)           (ДЛЯ США И CANADA) ЧАСТИ КОРПУСА
FIT
1:1
100%

Артикул

Название

Примечание

Количество

G-1

207-54-X1571

OPERATOR'S CAB GROUP

G-1

207-54-X1570

OPERATOR'S CAB GROUP

|$3

207-54-00063

OPERATOR'S CAB ASS'Y

|$4

207-54-00062

OPERATOR'S CAB ASS'Y

|$5

207-54-00061

OPERATOR'S CAB ASS'Y

|$6

207-54-00060

OPERATOR'S CAB ASS'Y

1

20Y-54-11331

GLASS

2

20Y-54-11441

WEATHER STRIP

3

20Y-54-11352

GLASS

4

20Y-54-11461

WEATHER STRIP

5

20Y-54-11342

GLASS

5

20Y-54-11341

GLASS

6

20Y-54-11452

WEATHER STRIP

6

20Y-54-11451

WEATHER STRIP

7

08141-02400

LAMP

8

08116-02410

BULB, 10W

9

01220-40412

SCREW

10

01601-20410

WASHER,SPRING

11

01641-20405

WASHER

12

20Y-06-13230

WIRING HARNESS

13

08037-01008

GROMMET

14

08037-01610

GROMMET

15

20Y-06-11382

WIRING HARNESS

16

01370-40408

SCREW

16

01370-00412

SCREW

17

01641-20405

WASHER

18

20Y-54-13440

CLIP

19

20Y-54-14510

DUCT

20

20Y-54-11880

STOPPER

21

01370-00412

SCREW

22

205-54-51250

HANGER

23

01370-00412

SCREW

24

20Y-54-11850

SHEET

25

08912-01500

ANTENNA

26

01220-40420

SCREW

27

09415-01008

CAP

28

01370-00412

SCREW

29

20Y-54-14540

PLUG

30

205-54-71611

CAP

Выбрано товаров: 39