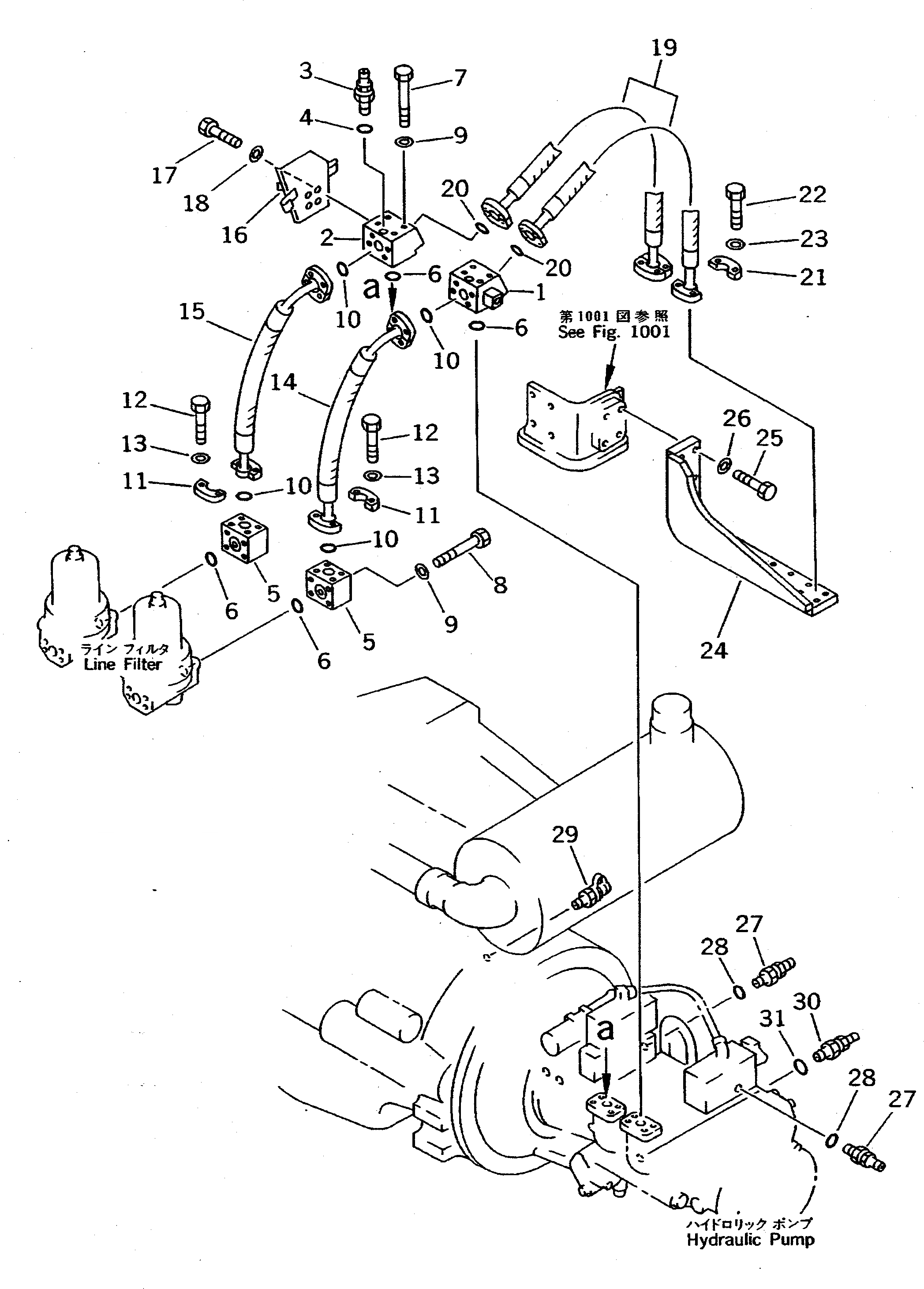
Запчасти Komatsu PC300LC-5 НАСОС - ФИЛЬТР ТРУБЫ (С БЫСТРОСЪЕМН. МЕХ-М)(№-) УПРАВЛ-Е РАБОЧИМ ОБОРУДОВАНИЕМ

Схема запчастей Komatsu PC300LC-5 - НАСОС - ФИЛЬТР ТРУБЫ (С БЫСТРОСЪЕМН. МЕХ-М)(№-) УПРАВЛ-Е РАБОЧИМ ОБОРУДОВАНИЕМ
FIT
1:1
100%

Артикул

Название

Примечание

Количество

1

207-62-51750

BLOCK

2

207-62-51760

BLOCK

3

799-101-5230

NIPPLE

4

209-62-61330

O-RING

5

207-62-51880

BLOCK

6

21T-09-11470

O-RING

7

01010-51085

BOLT

8

01010-51070

BOLT

9

01643-31032

WASHER

10

21T-09-11460

O-RING

11

07371-31049

FLANGE,SPLIT

12

07372-21035

BOLT

13

01643-51032

WASHER

14

207-62-51921

HOSE

15

207-62-51911

HOSE

16

207-62-52690

PLATE

17

01010-51020

BOLT

18

01643-31032

WASHER

19

207-62-52650

HOSE

20

21T-09-11460

O-RING

21

07371-31049

FLANGE,SPLIT

22

07372-21035

BOLT

23

01643-51032

WASHER

24

207-62-51373

BRACKET

25

01010-51240

BOLT

26

01643-31232

WASHER

27

799-101-5220

NIPPLE

28

07002-01023

O-RING

29

195-49-36120

NIPPLE

30

799-101-5230

NIPPLE

31

07002-01423

O-RING

Выбрано товаров: 0