Запчасти Komatsu PC300LC-5 УДЛИНН. РУКОЯТЬ¤ .M РАБОЧЕЕ ОБОРУДОВАНИЕ

Схема запчастей Komatsu PC300LC-5 - УДЛИНН. РУКОЯТЬ¤ .M РАБОЧЕЕ ОБОРУДОВАНИЕ
FIT
1:1
100%

Артикул

Название

Примечание

Количество

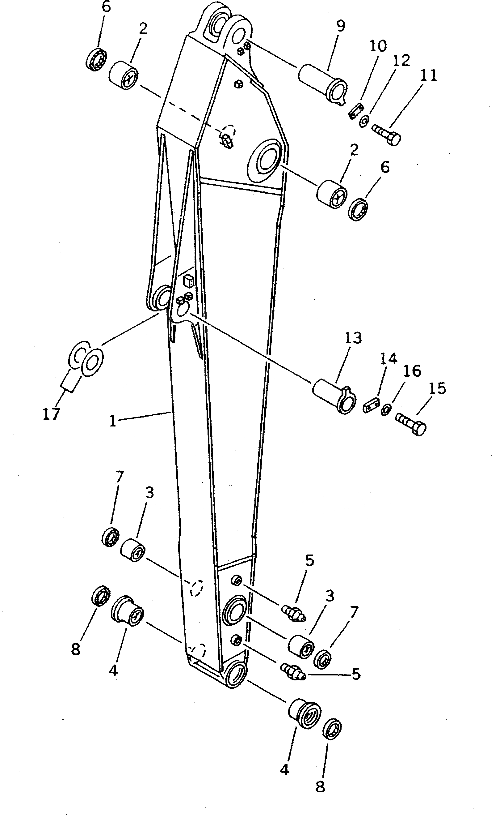
G-1

207-943-X110

ARM GROUP

|$2

207-943-0100

LONG ARM ASS'Y

1

ARM

2

207-70-12161

BUSHING

3

207-70-32150

BUSHING

4

207-70-32140

BUSHING

5

07020-00000

FITTING,GREASE

6

07145-00110

SEAL,DUST

7

205-70-62180

SEAL,DUST

8

207-70-12270

SEAL,DUST

9

207-70-31190

PIN

10

205-70-66580

PLATE

11

01010-51235

BOLT

12

01643-31232

WASHER

13

207-70-32160

PIN

14

205-70-66580

PLATE

15

01010-51235

BOLT

16

01643-31232

WASHER

G-2

207-70-X2020

PARTS GROUP,INDIVIDUALLY FORWARDING

17

07020-00900

FITTING,GREASE

18

207-70-24190

SPACER, 0.8MM

Выбрано товаров: 21