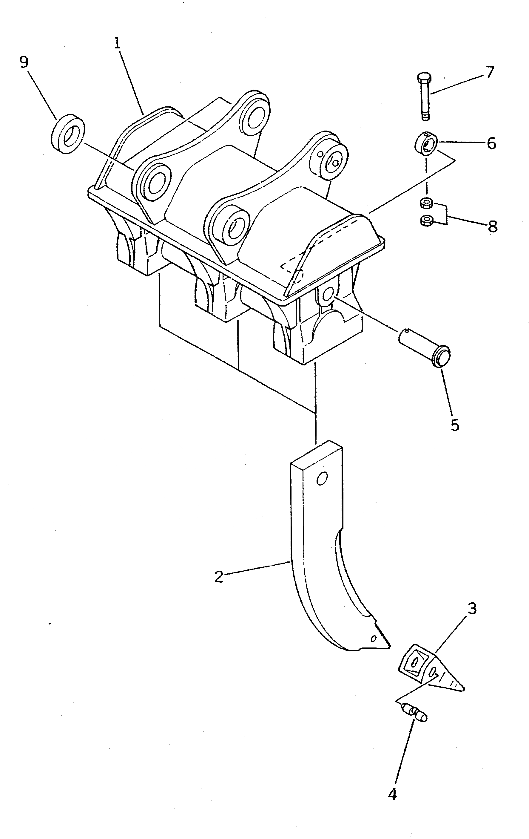
Запчасти Komatsu PC300LC-5 ТРЕХЗУБЫЙ РЫХЛИТЕЛЬ РАБОЧЕЕ ОБОРУДОВАНИЕ

Схема запчастей Komatsu PC300LC-5 - ТРЕХЗУБЫЙ РЫХЛИТЕЛЬ РАБОЧЕЕ ОБОРУДОВАНИЕ
FIT
1:1
100%

Артикул

Название

Примечание

Количество

G-1

207-951-X110

RIPPER GROUP

|$2

205-951-0010

RIPPER ASS'Y

1

BRACKET

|$4

207-951-0020

SHANK ASS'Y

2

SHANK

3

175-78-31230

POINT

4

09244-02508

PIN

5

207-951-1140

PIN

6

207-951-1150

COLLAR

7

01019-11620

BOLT

8

01580-11613

NUT

9

207-70-34310

COLLAR

Выбрано товаров: 12