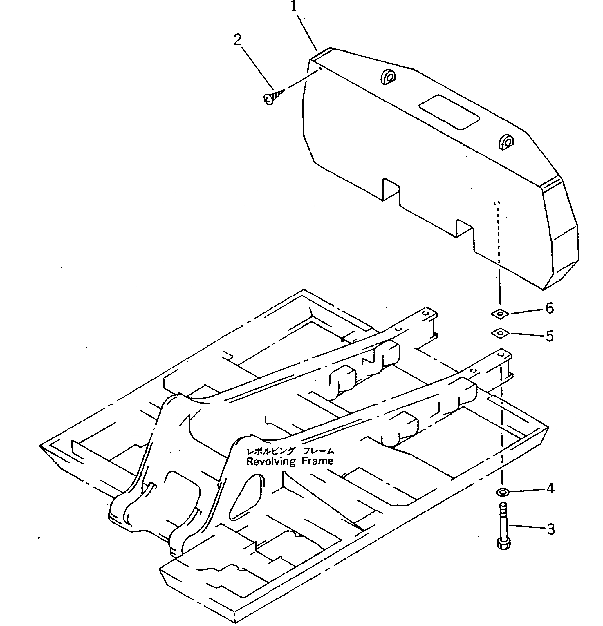
Запчасти Komatsu PC300LC-5 ПРОТИВОВЕС СИСТЕМА УПРАВЛЕНИЯ И ОСНОВНАЯ РАМА

Схема запчастей Komatsu PC300LC-5 - ПРОТИВОВЕС СИСТЕМА УПРАВЛЕНИЯ И ОСНОВНАЯ РАМА
FIT
1:1
100%

Артикул

Название

Примечание

Количество

1

207-46-52211

WEIGHT

2

01370-00508

SCREW

3

207-46-52120

BOLT

4

207-46-52130

WASHER

5

207-46-32150

SHIM, 1.0MM

6

207-46-32160

SHIM, 2.0MM

Выбрано товаров: 6