Запчасти Komatsu PC300LC-5 ОСНОВН. КОНСТРУКЦИЯ (ДЛЯ WRIST УПРАВЛ-Е) (ДЛЯ ДОПОЛН. PIPUNG)(№-9) ЧАСТИ КОРПУСА

Схема запчастей Komatsu PC300LC-5 - ОСНОВН. КОНСТРУКЦИЯ (ДЛЯ WRIST УПРАВЛ-Е) (ДЛЯ ДОПОЛН. PIPUNG)(№-9) ЧАСТИ КОРПУСА
FIT
1:1
100%

Артикул

Название

Примечание

Количество

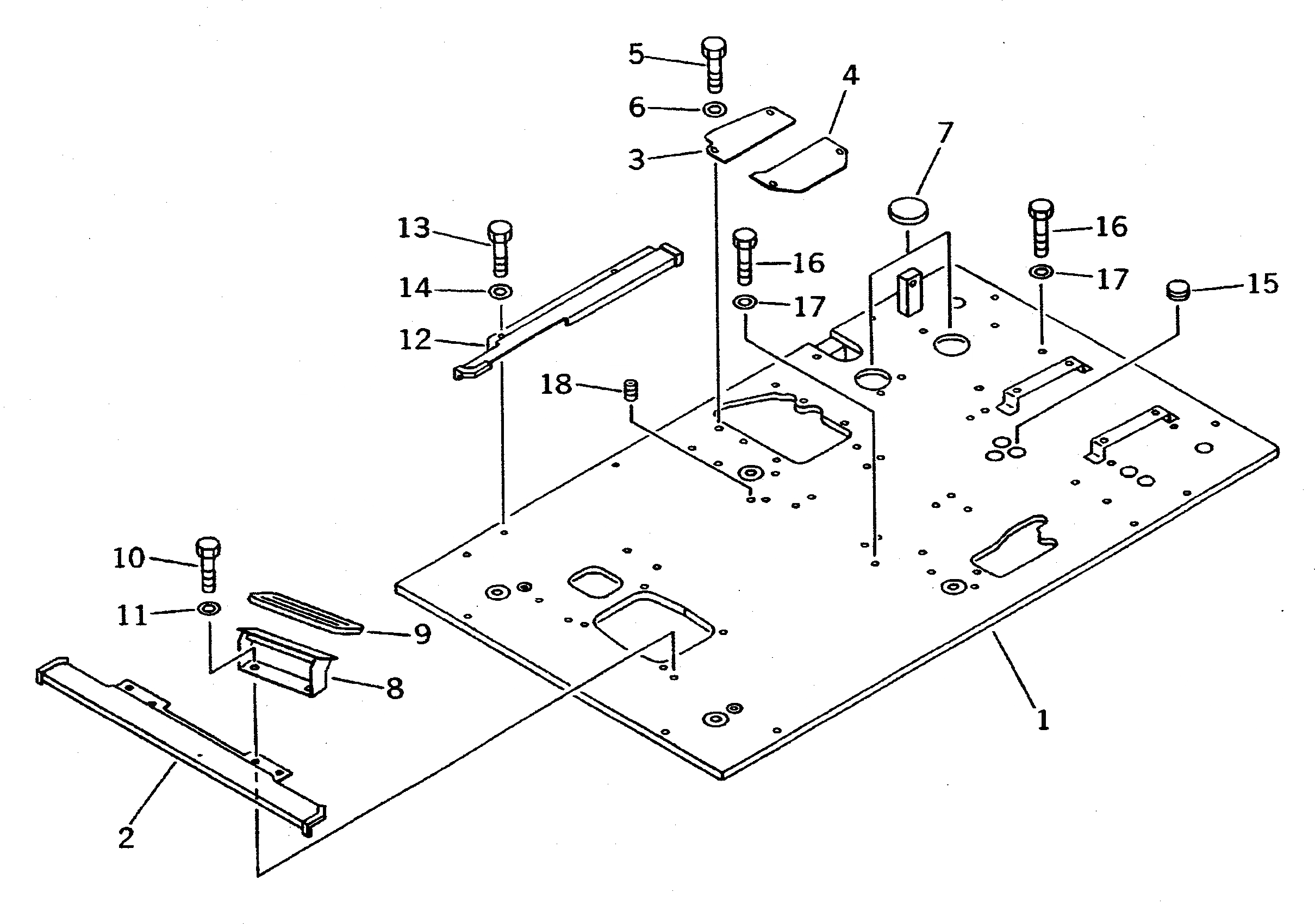
G-1

207-970-X410

FLOOR MAT GROUP

1

207-970-5490

FRAME

2

20Y-970-2451

COVER

3

207-54-53240

COVER

4

20Y-54-16561

PLATE

5

01010-51025

BOLT

6

01643-31032

WASHER

7

207-54-53350

SHEET

8

20Y-43-16421

REST,FOOT

9

20Y-43-16430

PAD

10

01010-51020

BOLT

11

01643-31032

WASHER

12

20Y-06-15510

COVER

13

01010-50816

BOLT

14

01643-30823

WASHER

15

20Y-977-1120

CAP

16

01010-51220

BOLT

17

01643-31232

WASHER

18

01310-11212

SCREW

Выбрано товаров: 0