Запчасти Komatsu PC300LC-5 КОВШ .M¤ MM (ВЕРТИКАЛЬН. ПАЛЕЦ) РАБОЧЕЕ ОБОРУДОВАНИЕ

Схема запчастей Komatsu PC300LC-5 - КОВШ .M¤ MM (ВЕРТИКАЛЬН. ПАЛЕЦ) РАБОЧЕЕ ОБОРУДОВАНИЕ
FIT
1:1
100%

Артикул

Название

Примечание

Количество

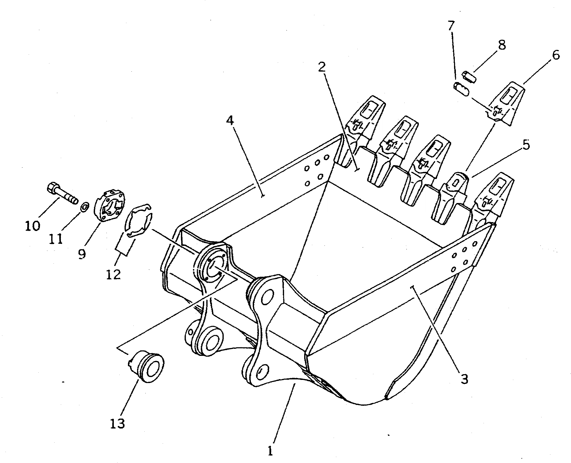
G-1

207-70-X4010

BUCKET GROUP

1

207-70-54111

BUCKET

2

207-70-54140

PLATE (WELDED)

3

207-70-54121

PLATE,L.H. (WELDED)

|3

207-70-54120

PLATE,L.H. (WELDED)

4

207-70-54131

PLATE,R.H. (WELDED)

|4

207-70-54130

PLATE,R.H. (WELDED)

5

207-70-34151

ADAPTER (WELDED)

6

207-70-34212

TOOTH

7

207-70-34221

PIN

8

205-70-74291

LOCK

9

207-70-34240

COVER

10

01010-32065

BOLT

|10

01010-52065

BOLT

11

01643-32060

WASHER

G-2

207-70-X4030

PARTS GROUP,INDIVIDUALLY FORWARDING

12

207-70-00060

SHIM ASS'Y

|12

SHIM¤ 1.0MM

|12

SHIM¤ 1.0MM

|12

SHIM¤ 0.5MM

|12

SHIM¤ 0.5MM

13

207-70-34230

BUSHING

Выбрано товаров: 0