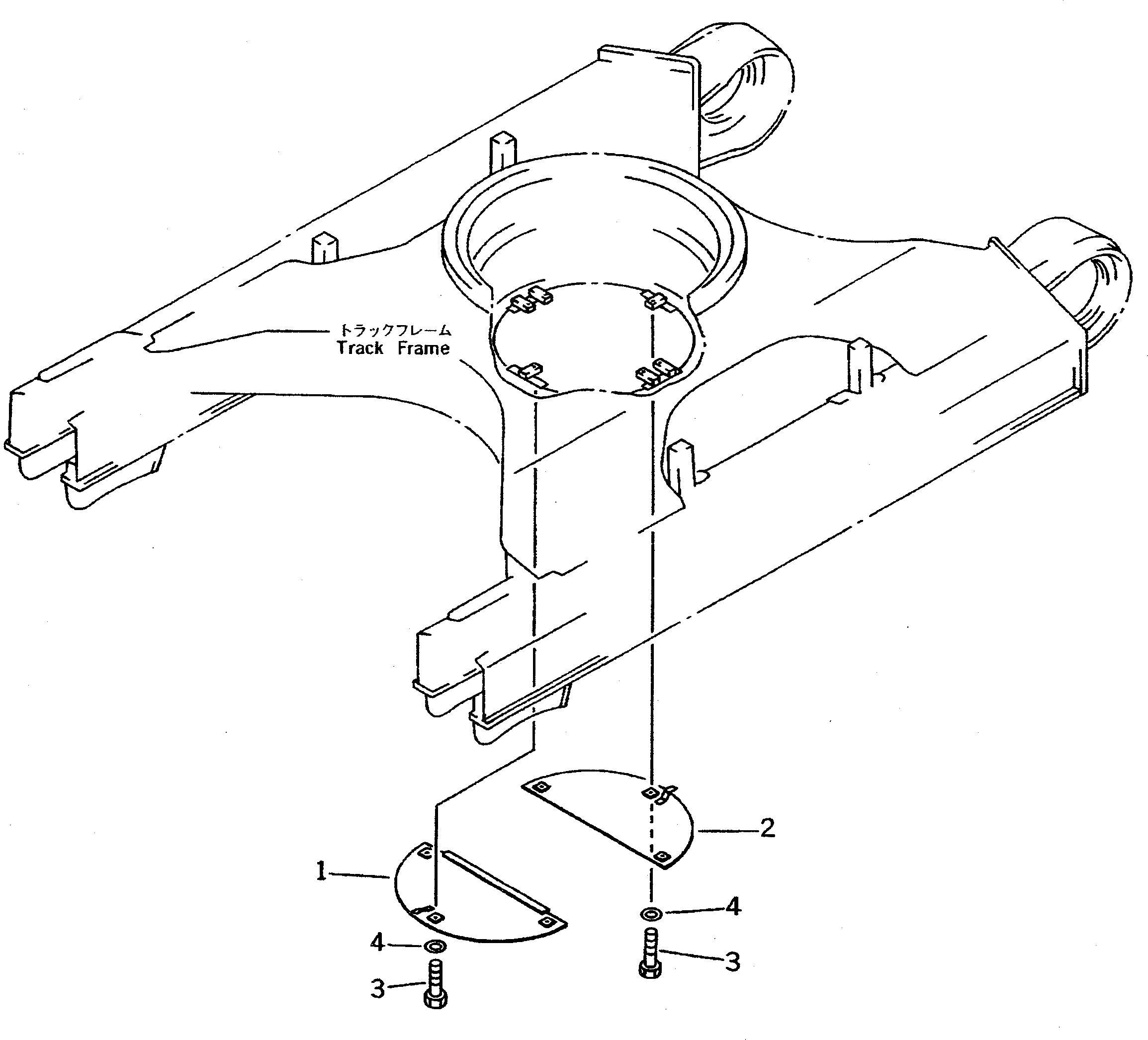
Запчасти Komatsu PC300LC-5 НИЖН. КРЫШКА (ДЛЯ ЦЕНТР. РАМА) ХОДОВАЯ

Схема запчастей Komatsu PC300LC-5 - НИЖН. КРЫШКА (ДЛЯ ЦЕНТР. РАМА) ХОДОВАЯ
FIT
1:1
100%

Артикул

Название

Примечание

Количество

1

20Y-973-2220

COVER

2

20Y-973-2230

COVER

3

01010-51235

BOLT

4

01643-31232

WASHER

Выбрано товаров: 0