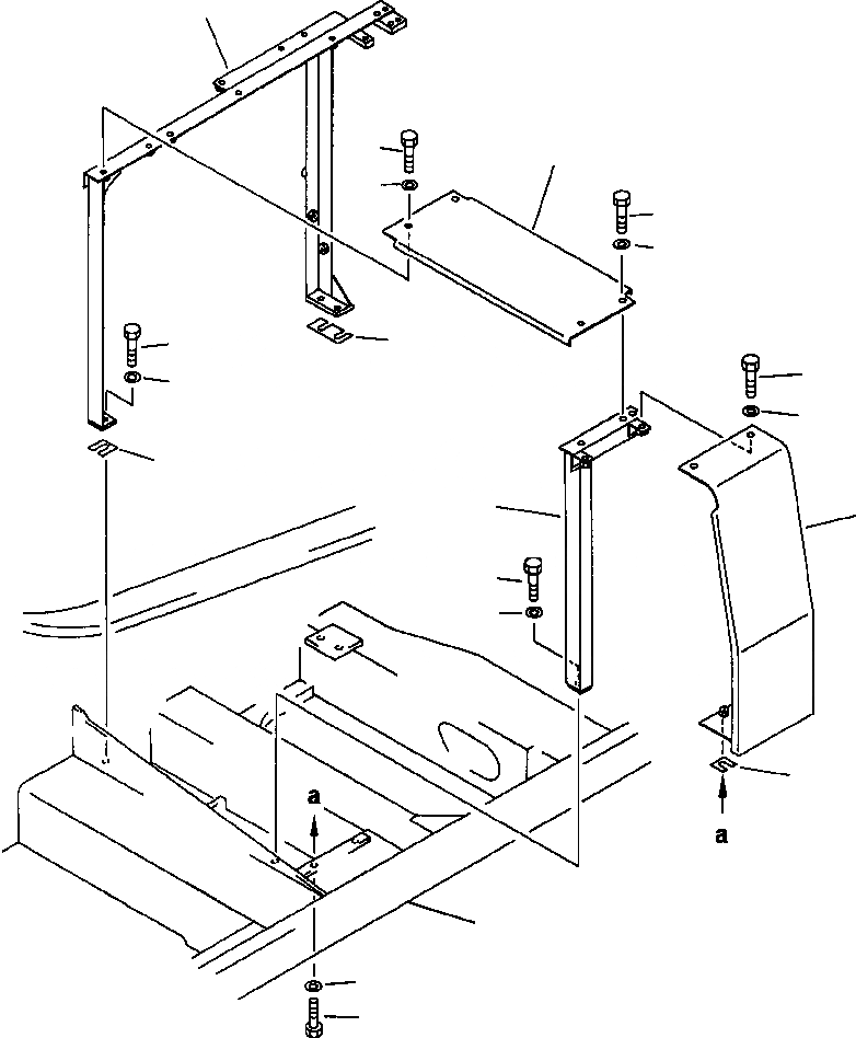
Запчасти Komatsu PC300LC-5 КРЫШКИ И РАМА ЧАСТИ КОРПУСА

Схема запчастей Komatsu PC300LC-5 - КРЫШКИ И РАМА ЧАСТИ КОРПУСА
11
1
2
3
2
3
12
14
8
13
10
15
4
7
5
6
15
16
10
9
FIT
1:1
100%

Артикул

Название

Примечание

Количество

1

207-54-51260

COVER, TOP

2

01010-81230

BOLT

3

01643-31232

WASHER

4

207-54-51270

FRAME

5

01010-81230

BOLT

6

01643-31232

WASHER

7

207-54-51252

COVER, SIDE

8

01010-81230

BOLT

9

01010-81240

BOLT

10

01643-13232

WASHER

11

207-54-51242

FRAME

12

01010-81230

BOLT

13

01643-31232

WASHER

14

20Y-54-18190

PLATE

15

207-54-52560

PLATE

Выбрано товаров: 15