Качественные детали и логистика
Оригинальные и аналоговые запчасти с доставкой по России, Казахстану и Беларуси
©2022 PartSell ООО "Система" ИНН 2463123282 ОГРН 1212400004838
Центральный офис: г. Красноярск, Академика Киренского, д.87, пом.4
Телефон: 8 (800) 777-65-74 Email: zakaz@partsell.ru
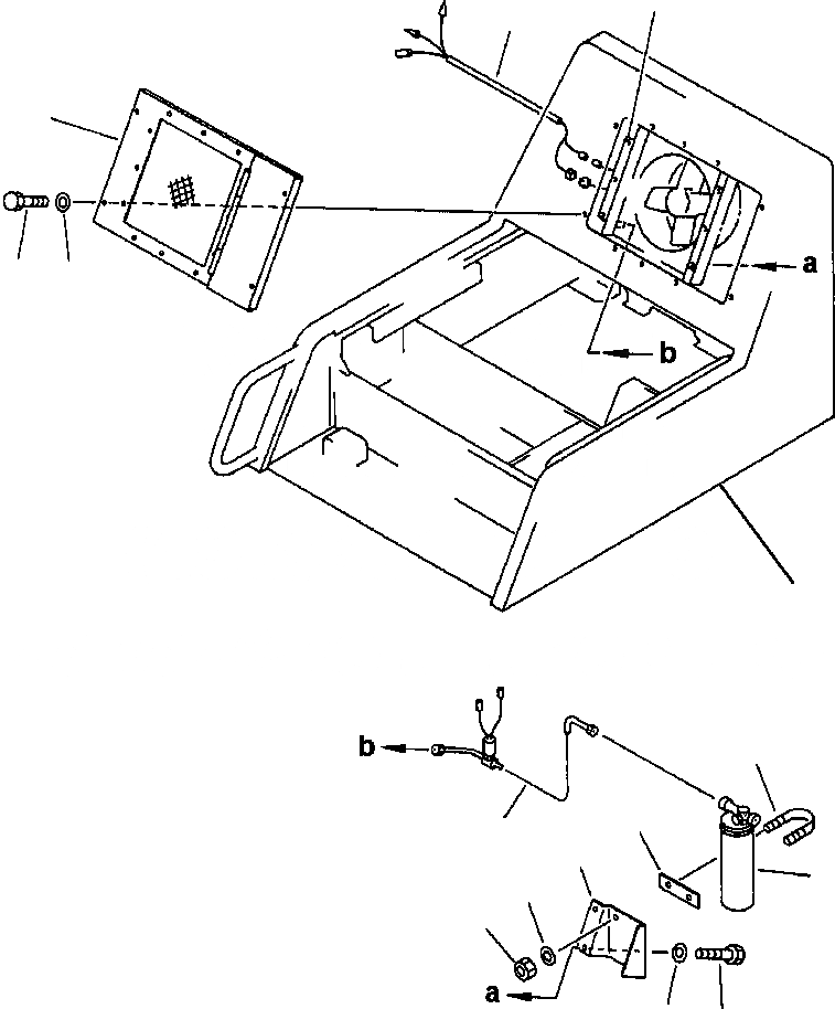
КОНДИЦ. ВОЗДУХА БАК ПРИЕМН. И КОМПОНЕНТЫ
№
Артикул
Название
Примечание
Количество
1
207-979-5210
COVER
2
198-911-4610
TANK, RECEIVER
|$2
145-Z79-4860
BOLT
3
20Y-979-1230
BRACKET
4
01010-80820
5
01643-30823
WASHER
6
565-95-21360
SEAT
7
205-979-1230
CLIP
8
01643-31032
9
01599-01011
NUT
10
20Y-979-1510
HARNESS, WIRING - CONDENSER
11
20Y-979-1220
TUBE
12
01010-80840
13
Выбрано товаров: 0