Качественные детали и логистика
Оригинальные и аналоговые запчасти с доставкой по России, Казахстану и Беларуси
©2022 PartSell ООО "Система" ИНН 2463123282 ОГРН 1212400004838
Центральный офис: г. Красноярск, Академика Киренского, д.87, пом.4
Телефон: 8 (800) 777-65-74 Email: zakaz@partsell.ru
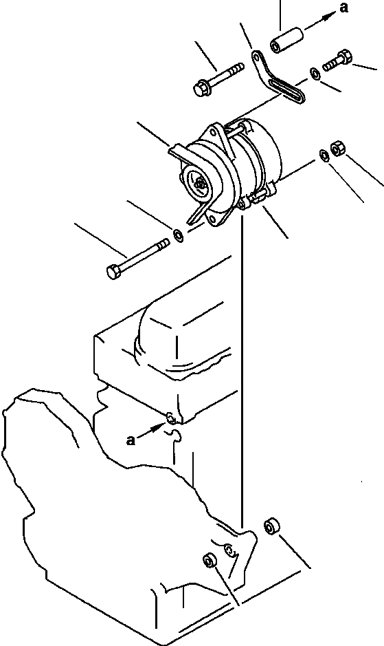
КРЕПЛЕНИЕ ГЕНЕРАТОРА - A
№
Артикул
Название
Примечание
Количество
2
21W-62-11620
SPACER
3
419-54-11270
4
6206-81-6920
BOLT
5
01580-01210
NUT
6
01640-21223
WASHER
7
6221-81-6630
PLATE
8
01435-01090
9
6221-81-6940
10
01050-31225
11
01643-31232
12
6222-61-3710
BELT, ALTERNATOR
Выбрано товаров: 0