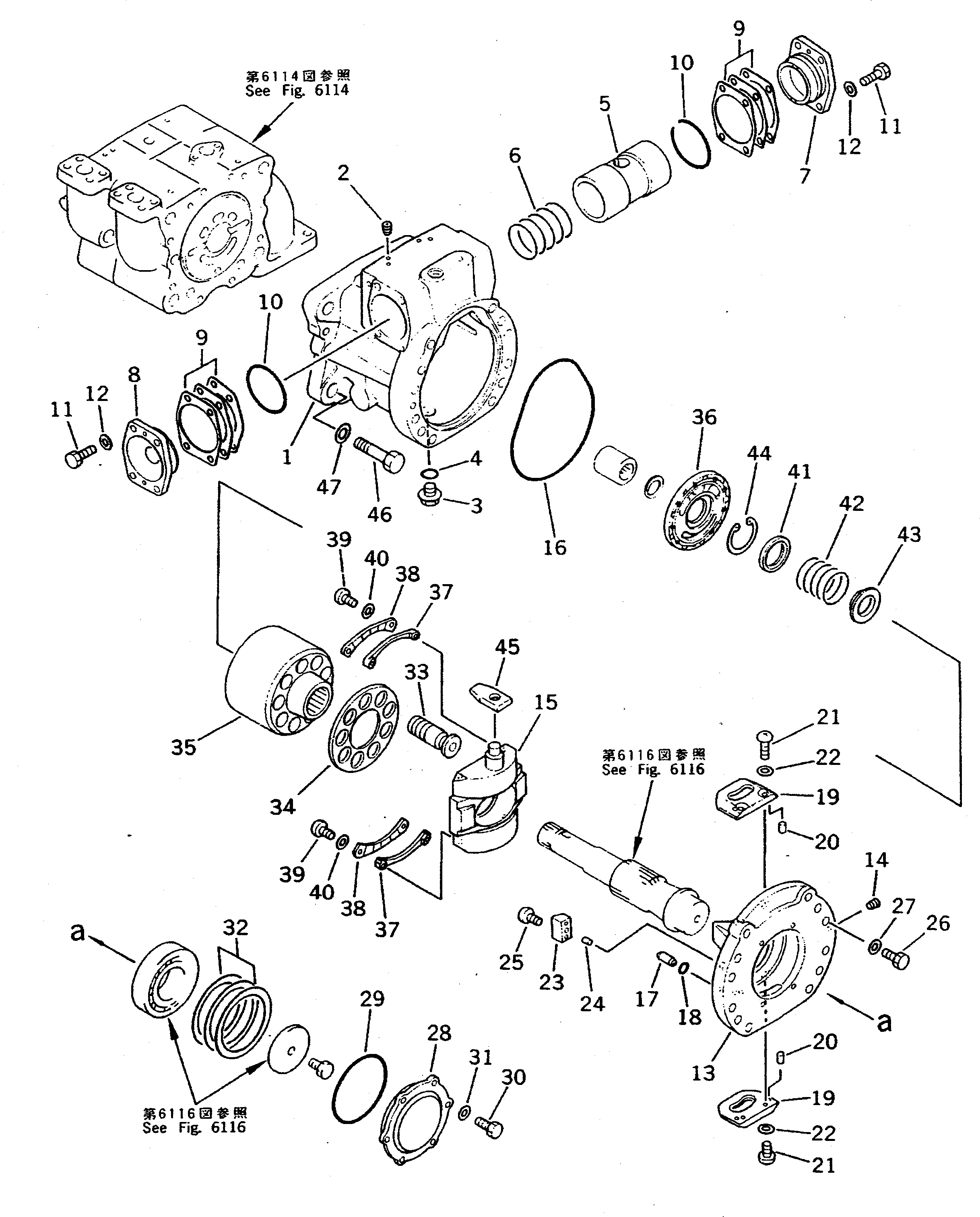
Запчасти Komatsu PC300LC-5K ГИДР. НАСОС. (/) (НАСОС SUB В СБОРЕ) (/) УПРАВЛ-Е РАБОЧИМ ОБОРУДОВАНИЕМ

Схема запчастей Komatsu PC300LC-5K - ГИДР. НАСОС. (/) (НАСОС SUB В СБОРЕ) (/) УПРАВЛ-Е РАБОЧИМ ОБОРУДОВАНИЕМ
FIT
1:1
100%

Артикул

Название

Примечание

Количество

|1

708-27-04013

HYDRAULIC PUMP ASS'Y

|1

708-27-04113

PUMP ASS'Y

|1

708-27-00080

CASE ASS'Y,REAR

1

CASE,REAR

2

PLUG

3

07044-12412

PLUG

4

07002-02434

O-RING

5

708-27-14110

PISTON

6

708-27-14130

SPRING

7

708-27-14140

CAP

8

708-27-14230

CAP

9

708-27-05060

SHIM KIT

|9

SHIM¤ 0.1MM

|9

SHIM¤ 0.2MM

|9

SHIM¤ 0.5MM

|9

708-27-14190

SHIM¤ 0.1MM

10

07000-02075

O-RING

11

01016-51045

BOLT

12

01643-31032

WASHER

|13

708-27-00041

CRADLE ASS'Y,REAR

|13

708-27-00460

CRADLE SUB ASS'Y,REAR

13

CRADLE,REAR

14

PLUG

15

708-27-13411

CAM,ROCKER

16

708-27-12130

O-RING

17

708-25-12330

JOINT

18

07000-22015

O-RING

19

708-27-12330

PLATE

20

04020-00820

PIN,DOWEL

21

708-27-12340

SCREW

22

01643-30823

WASHER

23

708-27-12350

STOPPER

24

04020-00820

PIN,DOWEL

25

706-75-42270

SCREW

26

01010-51450

BOLT

27

01643-31445

WASHER

28

708-27-12790

COVER

29

07000-02105

O-RING

30

01010-50820

BOLT

31

01643-30823

WASHER

32

708-27-05010

SHIM KIT

|32

SHIM¤ 0.50MM

|32

SHIM¤ 0.10MM

|32

SHIM¤ 0.15MM

33

708-27-13314

PISTON SUB ASS'Y

34

708-27-13342

RETAINER,SHOE

|35

708-27-00441

CYLINDER BLOCK A.,REAR

35

708-27-13112

CYLINDER BLOCK

36

708-27-13621

VALVE PLATE,REAR

37

708-27-05051

SPACER KIT

|37

SPACER

|37

SPACER

|37

SPACER

38

708-27-13420

RETAINER

39

708-27-13480

SCREW

40

01643-30823

WASHER

41

708-27-13120

WASHER

42

708-27-13140

SPRING

43

708-27-13130

RETAINER

44

708-27-13150

RING,SNAP

45

708-27-14121

SLIDER

46

01010-82075

BOLT

47

708-27-12580

WASHER

Выбрано товаров: 63