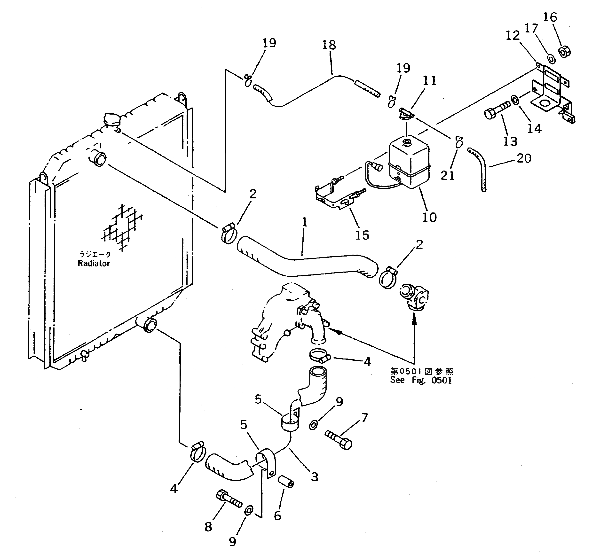
Запчасти Komatsu PC300LC-5K СИСТЕМА ТРУБ РАДИАТОРА КОМПОНЕНТЫ ДВИГАТЕЛЯ И ЭЛЕКТРИКА

Схема запчастей Komatsu PC300LC-5K - СИСТЕМА ТРУБ РАДИАТОРА КОМПОНЕНТЫ ДВИГАТЕЛЯ И ЭЛЕКТРИКА
FIT
1:1
100%

Артикул

Название

Примечание

Количество

1

207-03-51280

HOSE

2

208-09-11120

CLAMP

3

207-03-51270

HOSE

4

208-09-11120

CLAMP

5

207-03-51530

CLIP

6

281-01-17790

SEAT

7

01010-51230

BOLT

8

01010-51290

BOLT

9

01643-31232

WASHER

10

20Y-06-15240

TANK ASS'Y

11

205-03-71531

CAP

12

207-03-51291

BRACKET

13

01010-51230

BOLT

14

01643-31232

WASHER

15

20Y-03-11361

BAND

16

01580-10806

NUT

17

01643-30823

WASHER

18

20Y-03-11270

HOSE

19

07281-00167

CLAMP

|19

206-03-43340

CLIP

20

206-03-43331

HOSE

21

07281-00167

CLAMP

|21

206-03-43340

CLIP

Выбрано товаров: 23