Запчасти Komatsu PC300LC-5LC ПЕРЕДН. ПРИВОД COVER БЛОК ЦИЛИНДРОВ

Схема запчастей Komatsu PC300LC-5LC - ПЕРЕДН. ПРИВОД COVER БЛОК ЦИЛИНДРОВ
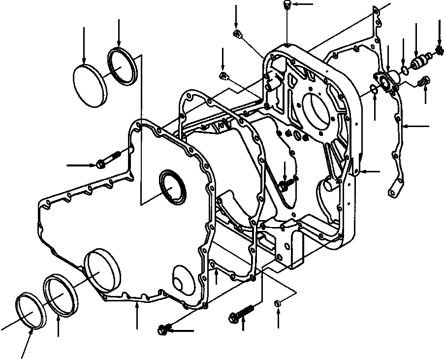
19
19
6
9
7
5
8
10
19
17
11
16
3
18
12
2
20
15
13
1
4
14
FIT
1:1
100%

Артикул

Название

Примечание

Количество

1

1294 852 H1

SHIELD, DUST

2

1240 140 H1

BOLT

3

1240 141 H1

BOLT

4

1240 144 H1

BOLT

5

1240 216 H1

COVER, ACCESS HOLE

6

1240 217 H1

O-RING

7

1240 240 H1

PIN, TIMING

8

1241 283 H1

O-RING

9

1240 296 H1

RING, RETAINING

10

1295 493 H1

HOUSING, TIMING PIN

11

1241 284 H2

O-RING

12

1241 281 H1

GASKET, GEAR COVER

13

1241 214 H1

KIT, FRONT SEAL SERVICE

14

1294 786 H1

COVER, FRONT GEAR

15

1241 110 H1

BOLT

16

1278 593 H2

GASKET, GEAR HOUSING

17

1240 383 H1

BOLT

18

1294 785 H1

HOUSING, GEAR

19

1240 370 H1

PLUG, PIPE

20

1257 939 H1

PLUG, EXPANSION

Выбрано товаров: 20