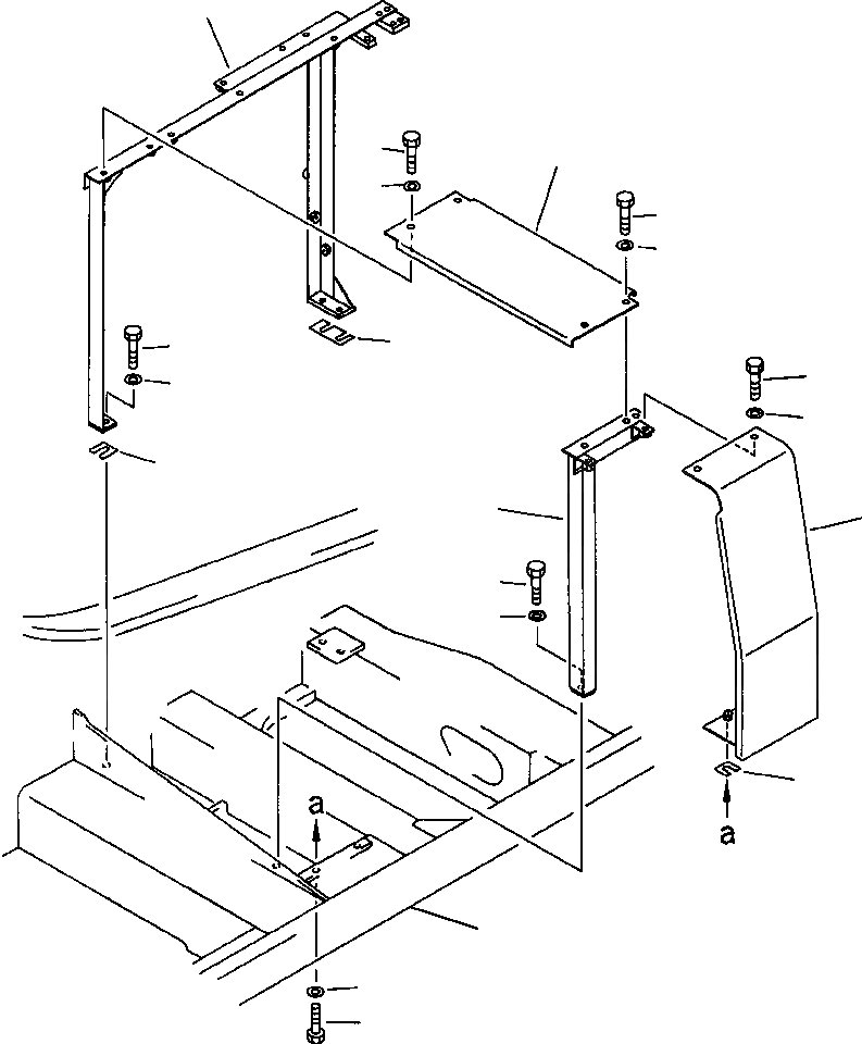
Запчасти Komatsu PC300LC-5LC КРЫШКИ И РАМА ЧАСТИ КОРПУСА

Схема запчастей Komatsu PC300LC-5LC - КРЫШКИ И РАМА ЧАСТИ КОРПУСА
11
2
1
3
2
3
15
12
8
13
10
14
4
7
5
6
14
16
10
9
FIT
1:1
100%

Артикул

Название

Примечание

Количество

1

207-54-51260

COVER

2

01010-51230

BOLT

3

01643-31232

WASHER

4

207-54-51270

FRAME

5

01010-51230

BOLT

6

01643-31232

WASHER

7

207-54-51252

COVER

8

01010-51230

BOLT

9

01010-51240

BOLT

10

01643-13232

WASHER

11

207-54-51242

FRAME

12

01010-51230

BOLT

13

01643-31232

WASHER

14

20Y-54-18190

PLATE

15

207-54-52560

PLATE

Выбрано товаров: 15