Запчасти Komatsu PC300LC-5LC ЛЕВ. ЗАДН. VIEW MIRROR ЧАСТИ КОРПУСА

Схема запчастей Komatsu PC300LC-5LC - ЛЕВ. ЗАДН. VIEW MIRROR ЧАСТИ КОРПУСА
5
3
2
1
4
3
2
4
1
FIT
1:1
100%

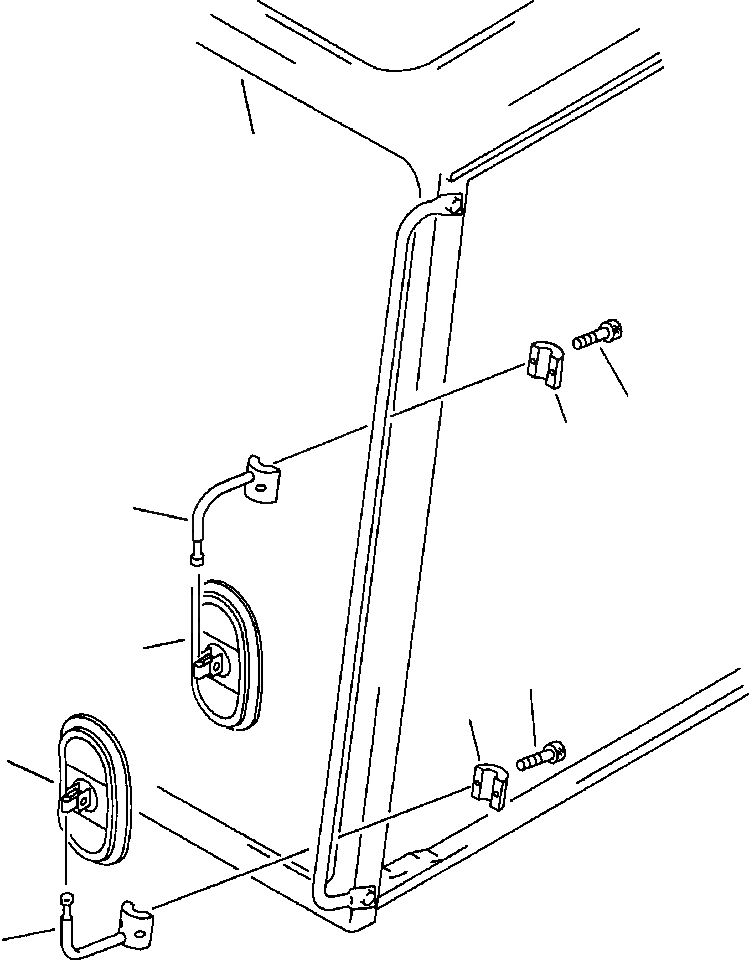
Артикул

Название

Примечание

Количество

1

205-54-77121

SUPPORT

2

205-54-77551

CLAMP

3

01252-41025

BOLT

4

08174-13118

MIRROR, L.H. REAR VIEW

Выбрано товаров: 4