Запчасти Komatsu PC300LC-5LC ОСНОВНАЯ РАМА НИЖН.КРЫШКАПРАВ.ЧАСТИ КОРПУСА

Схема запчастей Komatsu PC300LC-5LC - ОСНОВНАЯ РАМА НИЖН.КРЫШКАПРАВ. ЧАСТИ КОРПУСА
15
8
10
1
9
4
12
3
3
11
2
14
10
2
13
9
5
7
6
FIT
1:1
100%

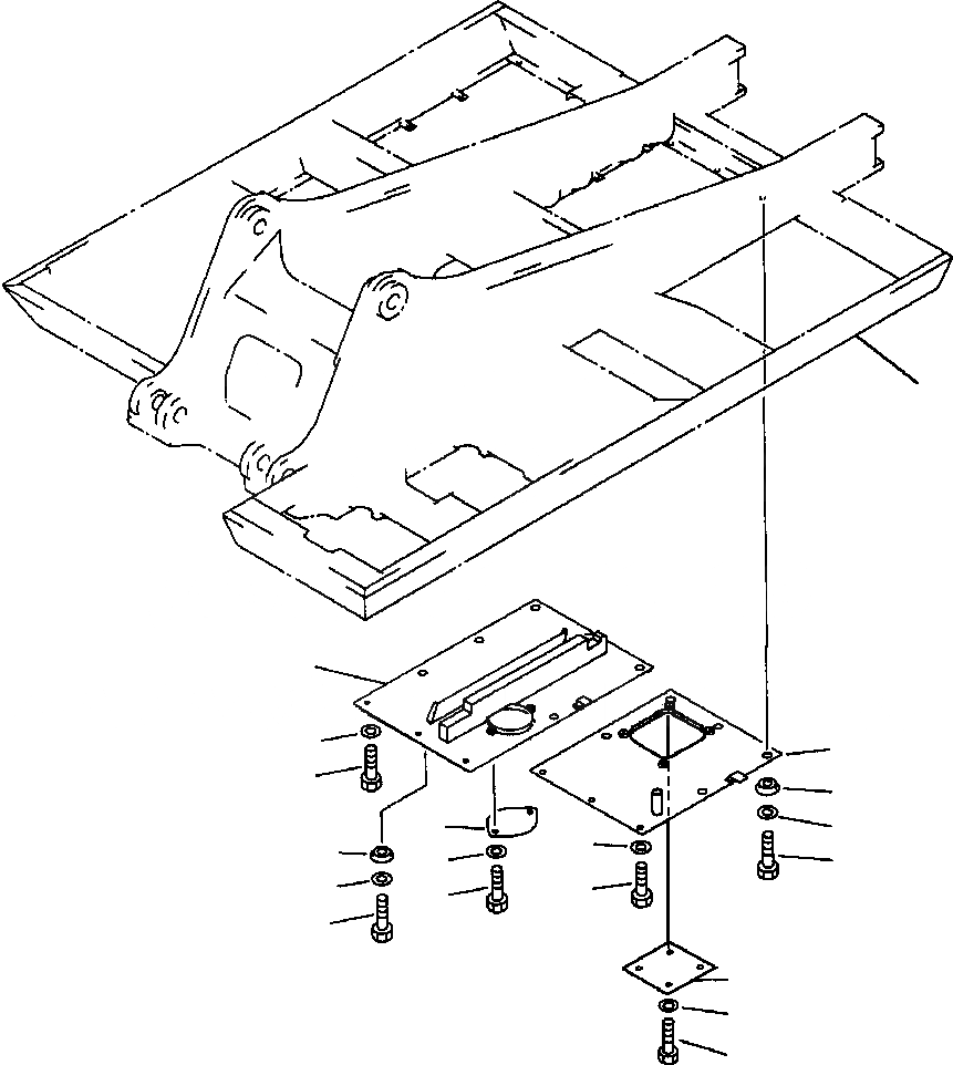
Артикул

Название

Примечание

Количество

1

207-54-58250

COVER, ENGINE

2

01010-51230

BOLT

3

016432-31232

WASHER

4

20Y-54-12550

COLLAR

5

20Y-54-12880

PLATE

6

01010-51230

BOLT

7

01643-31232

WASHER

8

207-54-58291

COVER, RADIATOR

9

01010-51230

BOLT

10

01643-31232

WASHER

11

20Y-54-12550

COLLAR

12

207-54-51440

PLATE

13

01010-51230

BOLT

14

01643-31232

WASHER

Выбрано товаров: 0