Качественные детали и логистика
Оригинальные и аналоговые запчасти с доставкой по России, Казахстану и Беларуси
©2022 PartSell ООО "Система" ИНН 2463123282 ОГРН 1212400004838
Центральный офис: г. Красноярск, Академика Киренского, д.87, пом.4
Телефон: 8 (800) 777-65-74 Email: zakaz@partsell.ru
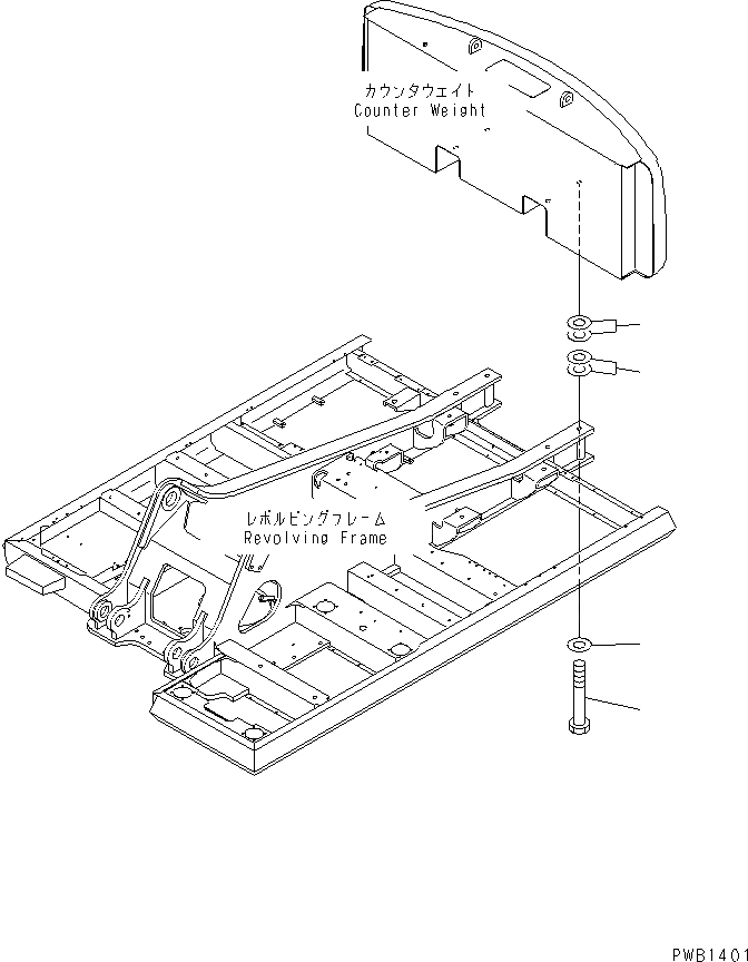
КРЕПЛЕНИЕ ПРОТИВОВЕСА
№
Артикул
Название
Примечание
Количество
1
207-46-52120
BOLT
2
207-46-52130
WASHER
3
207-46-32150
SHIM¤ 1.0MM
4
207-46-32160
SHIM¤ 2.0MM
Выбрано товаров: 0