Запчасти Komatsu PC300LC-6 ОХЛАЖД-Е (СИСТЕМА ТРУБ РАДИАТОРА)(№-) СИСТЕМА ОХЛАЖДЕНИЯ

Схема запчастей Komatsu PC300LC-6 - ОХЛАЖД-Е (СИСТЕМА ТРУБ РАДИАТОРА)(№-) СИСТЕМА ОХЛАЖДЕНИЯ
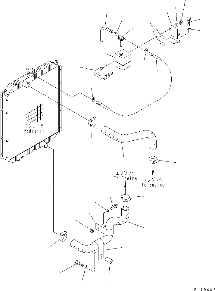
1
2
2
3
3
4
5
6
7
8
9
10
11
11
12
13
14
15
16
17
18
19
20
21
22
22
22
23
FIT
1:1
100%

Артикул

Название

Примечание

Количество

1

207-03-61180

HOSE

2

07289-00070

CLAMP

3

207-03-51530

CLIP

4

281-01-17790

SEAT

5

01010-81290

BOLT

6

01643-31232

WASHER

7

198-43-15310

COLLAR¤ 10MM

8

01010-81235

BOLT

9

01643-31232

WASHER

10

207-03-61171

HOSE

11

07289-00070

CLAMP

12

203-03-61640

TANK

13

205-03-71532

CAP

|13

205-03-71540

PACKING

14

207-03-61230

BRACKET

15

205-03-71440

SHEET

16

20Y-03-11361

BAND

17

01580-10806

NUT

18

01643-30823

WASHER

19

01010-81230

BOLT

20

01643-31232

WASHER

21

208-03-58310

HOSE

22

206-03-43340

CLIP

23

207-03-61220

HOSE¤ 2300MM

Выбрано товаров: 24