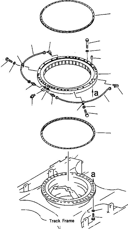
Запчасти Komatsu PC300LC-6LC FIG. N-A ПОВОРОТН. КРУГ ПОВОРОТН. КРУГ И КОМПОНЕНТЫ

Схема запчастей Komatsu PC300LC-6LC - FIG. N-A ПОВОРОТН. КРУГ ПОВОРОТН. КРУГ И КОМПОНЕНТЫ
2
9
15
8
16
12
6
13
1
14
11
9
3
7
14
11
10
12
13
2
5
4
FIT
1:1
100%

Артикул

Название

Примечание

Количество

1

207-25-61100

CIRCLE ASSEMBLY, SWING

2

207-25-A1320

SEAL

3

205-25-71280

NIPPLE

4

207-25-31180

BOLT

5

01643-32460

WASHER

6

04020-01842

PIN

7

207-25-61211

TUBE

8

207-25-61220

TUBE

9

20Y-25-11270

ELBOW

10

07020-00000

FITTING

11

07214-50813

CONNECTOR

12

08036-00814

CLIP

13

01010-81020

BOLT

14

01643-31032

WASHER

15

208-25-31160

BOLT

16

01643-32460

WASHER

Выбрано товаров: 16