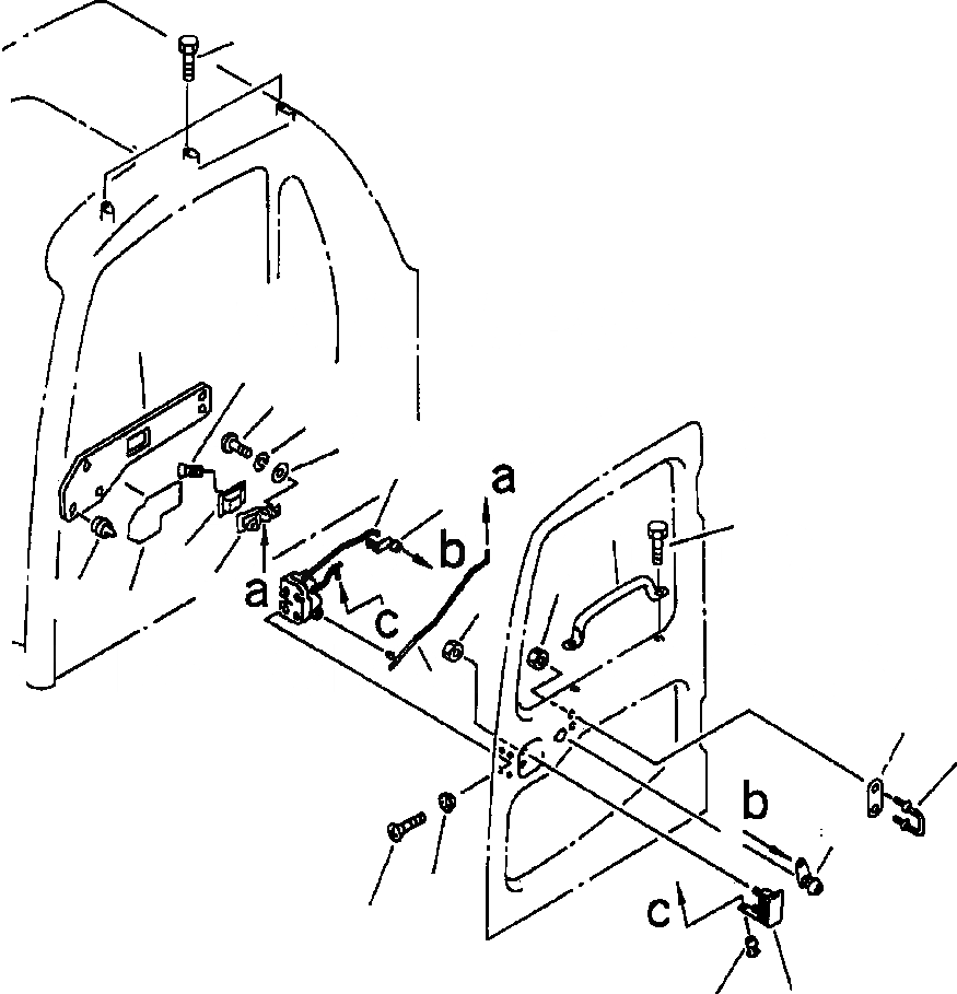
Запчасти Komatsu PC300LC-6LE FIG. K-7A OPERATOR КАБИНА - ЗАМОК ДВЕРИ (АНТИВАНДАЛЬН.) КАБИНА ОПЕРАТОРА И СИСТЕМА УПРАВЛЕНИЯ

Схема запчастей Komatsu PC300LC-6LE - FIG. K-7A OPERATOR КАБИНА - ЗАМОК ДВЕРИ (АНТИВАНДАЛЬН.) КАБИНА ОПЕРАТОРА И СИСТЕМА УПРАВЛЕНИЯ
24
19
11
7
9
8
1
15
23
22
10
18
6
20
5
12
17
16
13
3
2
21
4
14
FIT
1:1
100%

Артикул

Название

Примечание

Количество

1

20Y-54-35941

LATCH, DOOR LOCK

2

01240-00616

SCREW

3

195-Z11-1690

WASHER

4

20Y-54-35932

HANDLE ASSEMBLY, DOOR LOCK

5

01584-00605

NUT

6

20Y-54-35910

HANDLE

7

01220-40512

SCREW

8

01642-20508

WASHER, FLAT

9

01601-20513

WASHER, LOCK

10

20Y-54-35920

COVER

11

20Y-54-35880

SCREW

12

20Y-54-35951

ROD ASSEMBLY

13

20Y-54-35890

LOCK ASSEMBLY

14

14X-911-1740

SNAP

15

205-54-71840

SNAP

16

20Y-54-35961

STRIKER

17

20Y-54-35710

PLATE

18

01584-01008

NUT

19

20Y-54-35760

COVER

20

20Y-54-14560

CLIP ASSEMBLY

21

20Y-54-35771

SEAL

22

20Y-54-35690

GRIP

23

01240-00820

BOLT

24

01010-31218

BOLT

Выбрано товаров: 24