Запчасти Komatsu PC300LC-6Z ПОВОРОТН. КРУГ(№-) ПОВОРОТН. КРУГ И КОМПОНЕНТЫ

Схема запчастей Komatsu PC300LC-6Z - ПОВОРОТН. КРУГ(№-) ПОВОРОТН. КРУГ И КОМПОНЕНТЫ
1
2
2
3
4
5
5
6
7
8
8
9
10
11
12
FIT
1:1
100%

Артикул

Название

Примечание

Количество

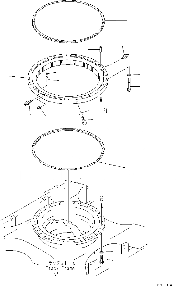
1

207-25-61200

SWING CIRCLE ASS'Y

2

207-25-61160

SEAL

3

207-25-31180

BOLT

4

01643-72460

WASHER

|4

01643-32460

WASHER

5

04020-01842

PIN

6

20Y-46-21520

CAP

7

07042-70211

PLUG

8

07020-00000

FITTING

9

01010-81020

BOLT

10

01643-31032

WASHER

11

208-25-31160

BOLT

12

01643-72460

WASHER

|12

01643-32460

WASHER

Выбрано товаров: 14