Запчасти Komatsu PC300LC-7-BA ЛЕВ. ДВЕРЬ (КАБИНА) ЧАСТИ КОРПУСА

Схема запчастей Komatsu PC300LC-7-BA - ЛЕВ. ДВЕРЬ (КАБИНА) ЧАСТИ КОРПУСА
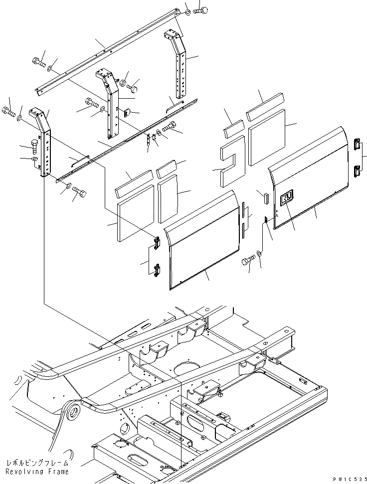
1
2
3
4
5
6
7
8
9
10
11
12
13
14
15
16
16
17
17
18
19
20
21
22
23
23
24
25
26
27
28
29
30
30
31
32
33
33
34
34
35
36
37
38
FIT
1:1
100%

Артикул

Название

Примечание

Количество

1

207-54-71312

COVER

|1

207-54-71311

COVER

2

20Y-54-63410

HINGE (WELDED)

|2

207-54-61870

HINGE (WELDED)

3

20Y-54-63390

SHEET

|3

20Y-54-28281

SHEET

4

207-54-71342

COVER

|4

207-54-71341

COVER

5

198-54-41982

LOCK ASS'Y (WELDED)

6

20Y-54-63410

HINGE (WELDED)

|6

207-54-61870

HINGE (WELDED)

7

20Y-54-61481

SHEET

8

205-54-53550

DOVE TAIL

9

01010-80612

BOLT

10

01643-30623

WASHER

11

207-54-71111

FRAME

12

207-54-71121

FRAME

13

207-54-71131

FRAME

14

207-54-71141

PLATE

15

207-54-71151

FRAME

16

01010-81230

BOLT

17

01643-31232

WASHER

18

20Y-54-11611

STOPPER

19

01580-11008

NUT

20

20Y-54-28170

BRACKET

21

01010-81230

BOLT

22

01643-31232

WASHER

23

20Y-54-29231

BAR

24

20Y-54-61470

PLATE

25

01010-81230

BOLT

26

01643-31232

WASHER

27

205-54-51970

DOVE TAIL

28

01010-80616

BOLT

29

01643-30623

WASHER

30

20Y-54-61451

SHEET

31

207-54-71161

SHEET

32

207-54-71180

SHEET

33

207-54-71261

SHEET

34

207-54-71290

SHEET

35

01010-81230

BOLT

36

01643-31232

WASHER

37

01010-81230

BOLT

38

01643-31232

WASHER

Выбрано товаров: 43