Качественные детали и логистика
Оригинальные и аналоговые запчасти с доставкой по России, Казахстану и Беларуси
©2022 PartSell ООО "Система" ИНН 2463123282 ОГРН 1212400004838
Центральный офис: г. Красноярск, Академика Киренского, д.87, пом.4
Телефон: 8 (800) 777-65-74 Email: zakaz@partsell.ru
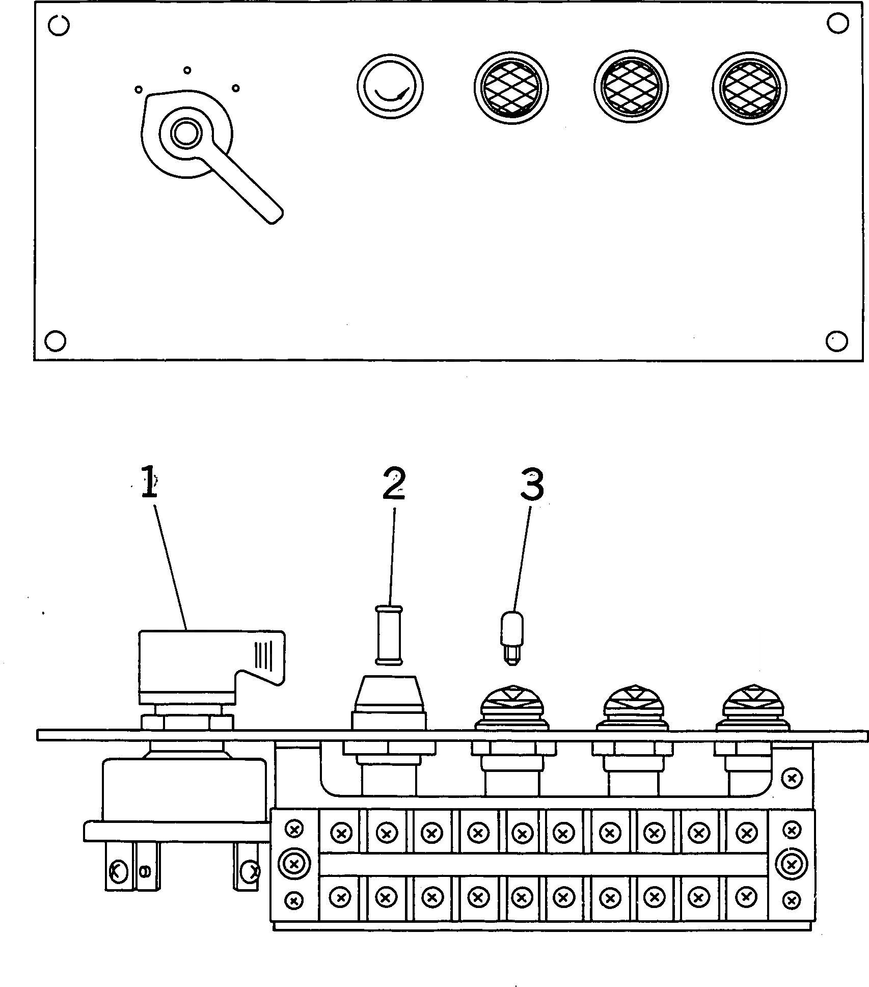
ПРЕДПУСК. ПОДОГРЕВ (ПАНЕЛЬ)(№9-)
№
Артикул
Название
Примечание
Количество
|$1
208-06-19371
PANEL
1
MK50HK-7/202
SWITCH,ROTARY
2
MKFU1-15
FUSE
3
MK066002
LAMP
Выбрано товаров: 0