Запчасти Komatsu PC300LC-7E0 ЗАДН. VIEW MIRROR ЧАСТИ КОРПУСА
1
2
3
4
FIT
1:1
100%
№
Артикул
Название
Примечание
Количество
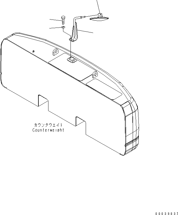
1
207-54-77960
MIRROR
2
207-54-77940
BRACKET
3
01010-81230
BOLT
4
01643-31232
WASHER
Выбрано товаров: 4
№
Артикул
Название
Примечание
Количество
1
207-54-77960
MIRROR
2
207-54-77940
BRACKET
3
01010-81230
BOLT
4
01643-31232
WASHER
Выбрано товаров: 4