Запчасти Komatsu PC300LC-7E0 КОВШ¤ .M¤ MM (ГОРИЗОНТАЛЬН. ПАЛЕЦ) (С РЕГУЛИРОВКОЙ) ( ЧАС. СИСТЕМА СМАЗКИ)(№-) РАБОЧЕЕ ОБОРУДОВАНИЕ

Схема запчастей Komatsu PC300LC-7E0 - КОВШ¤ .M¤ MM (ГОРИЗОНТАЛЬН. ПАЛЕЦ) (С РЕГУЛИРОВКОЙ) ( ЧАС. СИСТЕМА СМАЗКИ)(№-) РАБОЧЕЕ ОБОРУДОВАНИЕ
FIT
1:1
100%

Артикул

Название

Примечание

Количество

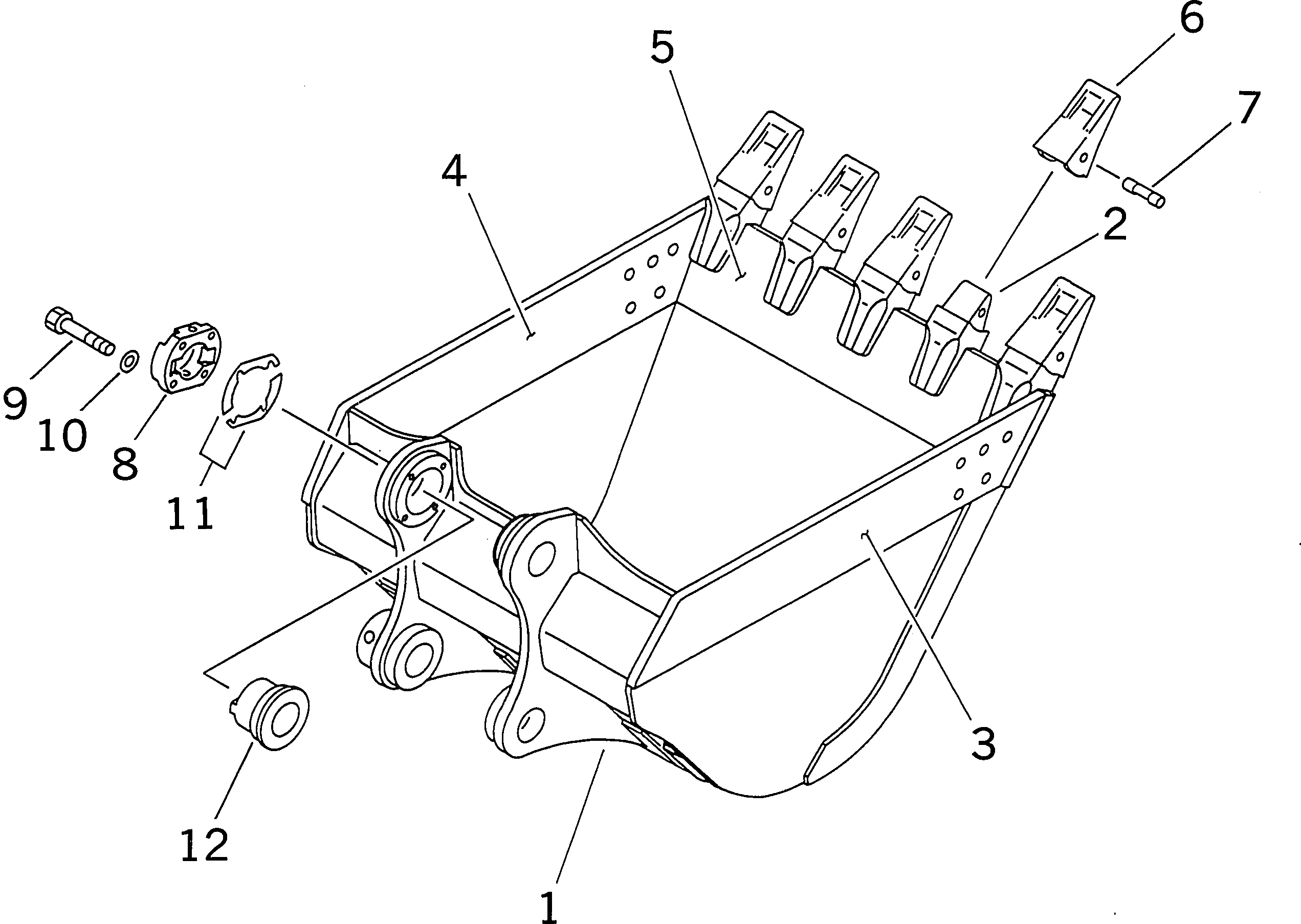
1

207-70-54410

BUCKET

2

207-939-3120

ADAPTER (WELDED)

3

207-70-54121

PLATE,L.H. (WELDED)

4

207-70-54131

PLATE,R.H. (WELDED)

5

207-70-54140

PLATE (WELDED)

6

207-70-14151

TOOTH

7

09244-02516

PIN

8

207-70-34240

COVER

9

01010-62065

BOLT

10

01643-32060

WASHER

11

207-70-00061

SHIM ASS'Y

11

207-70-00060

SHIM ASS'Y

11

SHIM, 1.0MM

11

SHIM, 1.0MM

11

SHIM, 0.5MM

12

207-70-34230

BUSHING

Выбрано товаров: 0