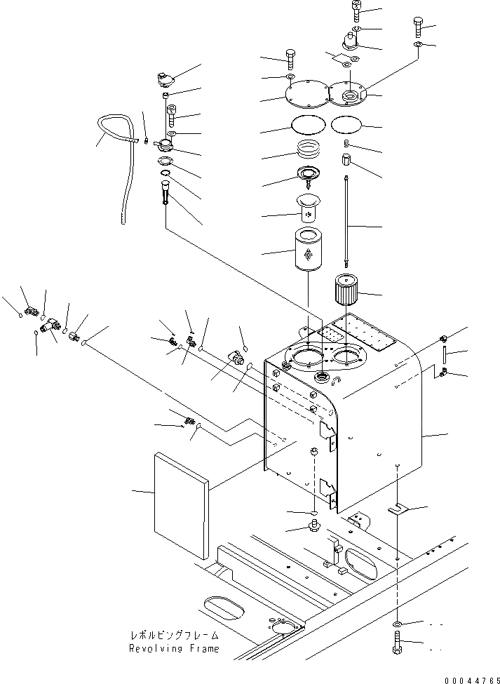
Запчасти Komatsu PC300LC-7E0 ГИДР. БАК. (С КЛАПАН ПЕРЕГРУЗКИ)(№-) ГИДРАВЛИКА

Схема запчастей Komatsu PC300LC-7E0 - ГИДР. БАК. (С КЛАПАН ПЕРЕГРУЗКИ)(№-) ГИДРАВЛИКА
1
2
2
3
4
5
6
7
8
9
10
11
12
13
14
15
16
17
18
19
20
21
22
23
24
25
26
27
28
29
30
31
32
33
34
35
36
37
38
39
40
41
42
43
44
45
46
47
48
49
50
51
52
53
54
55
56
57
58
59
FIT
1:1
100%

Артикул

Название

Примечание

Количество

1

207-60-75110

TANK

2

203-60-31100

ELBOW ASS'Y

3

203-60-31160

TUBE

4

07044-12412

PLUG

5

07002-12434

O-RING

6

201-62-71810

JOINT

7

07002-12434

O-RING

8

207-62-72171

ELBOW

9

07002-12434

O-RING

10

02896-11018

O-RING

11

02782-10522

ELBOW

12

07002-12434

O-RING

13

02896-11015

O-RING

14

02782-10315

ELBOW

15

07002-12034

O-RING

16

02896-11009

O-RING

17

21W-62-42640

ELBOW

18

07002-13334

O-RING

19

207-62-64740

O-RING

20

02782-10422

ELBOW

21

07002-12034

O-RING

22

02896-11012

O-RING

23

11Y-62-12160

ELBOW

24

07002-11423

O-RING

25

02896-11008

O-RING

26

207-60-71181

ELEMENT

27

20Y-60-31140

STRAINER

28

20Y-60-31131

VALVE ASS'Y

29

20Y-60-21240

SPRING

30

22U-60-21232

COVER

31

07000-15195

O-RING

32

01010-81230

BOLT

33

01643-31232

WASHER

|$46

207-60-75120

STRAINER ASS'Y

34

208-60-71150

ROD ASS'Y

35

12R-60-11230

SPRING

36

20Y-60-21320

HOLDER

37

22B-60-11160

STRAINER

38

207-60-75131

COVER

39

07000-15160

O-RING

40

01010-81230

BOLT

41

01643-31232

WASHER

42

17A-60-11310

CAP ASS'Y

43

20Y-60-21470

ELEMENT

44

208-60-71180

FILLER NECK

45

20Y-60-21340

GASKET

46

01252-70516

BOLT

47

01601-20513

WASHER

48

07285-00155

CLIP

49

07270-61415

TUBE

50

07056-10045

STRAINER

51

04065-04718

RING

|$72

20Y-60-31270

BREATHER

52

207-60-51310

ELEMENT

53

207-60-51320

SEAL

54

01252-70516

BOLT

55

01601-20513

WASHER

56

207-60-75910

SHEET

57

01010-81635

BOLT

58

01643-31645

WASHER

59

195-03-11570

SHIM, 1.0MM

Выбрано товаров: 0