Запчасти Komatsu PC300LC-7L K-A КАБИНА КОЗЫРЕК ОТ СОЛНЦА.S заводской номер A8-A87 OPERATOR ОБСТАНОВКА И СИСТЕМА УПРАВЛЕНИЯ

Схема запчастей Komatsu PC300LC-7L - K-A КАБИНА КОЗЫРЕК ОТ СОЛНЦА.S заводской номер A8-A87 OPERATOR ОБСТАНОВКА И СИСТЕМА УПРАВЛЕНИЯ
5
4
2
3
2
1
6
FIT
1:1
100%

Артикул

Название

Примечание

Количество

1

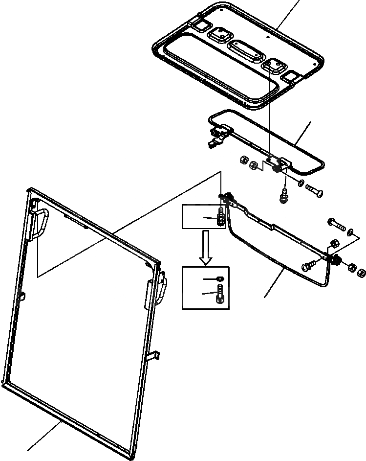
20Y-54-52510

SUN VISOR, FRONT

|$1

01023-20616

SCREW

|$2

01570-00605

NUT

|$3

01580-00806

NUT

|$4

01641-50812

WASHER

2

01252-80616

BOLT

3

01643-70623

WASHER

4

20Y-54-52521

SUN VISOR, ROOF

|$8

01023-20616

SCREW

|$9

01245-00816

BOLT

|$10

01580-00806

NUT

|$11

01641-50812

WASHER

|$12

01643-70823

WASHER

|$13

01643-71032

WASHER

Выбрано товаров: 14