Запчасти Komatsu PC300LC-7L K-A КЛАПАН PPCРАБОЧЕЕ ОБОРУДОВАНИЕ заводской номер A8-A87 OPERATOR ОБСТАНОВКА И СИСТЕМА УПРАВЛЕНИЯ

Схема запчастей Komatsu PC300LC-7L - K-A КЛАПАН PPCРАБОЧЕЕ ОБОРУДОВАНИЕ заводской номер A8-A87 OPERATOR ОБСТАНОВКА И СИСТЕМА УПРАВЛЕНИЯ
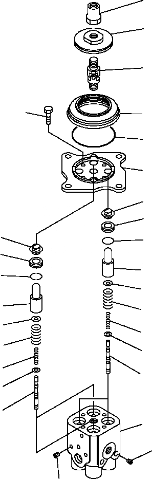
20
19
18
17
14
15
16
11
13
11
12
13
10
12
7
10
9
7
6
8
5
6
4
5
4
1
3
2
FIT
1:1
100%

Артикул

Название

Примечание

Количество

|$0

702-16-01651

PILOT VALVE

1

NSS

BODY, VALVE

2

NSS

PLUG

3

NSS

PLUG

4

NSS

VALVE

5

702-16-51140

SHIM, 0.30 MM

6

702-16-53420

SPRING

7

702-16-53140

RETAINER

8

702-16-53470

SPRING

9

702-16-53590

SPRING

10

702-16-53170

PISTON

11

702-16-51270

SEAL

12

07000-12020

O-RING

13

702-16-54170

COLLAR

14

702-16-53190

BOOT

15

07000-02070

O-RING

16

702-16-53210

PLATE

17

01010-80620

BOLT

18

702-16-51240

JOINT

19

702-16-53980

DISC

20

702-16-53230

NUT

Выбрано товаров: 21