Запчасти Komatsu PC300LC-7L D-A ТОПЛИВН. БАК. ТОПЛИВН. БАК. AND КОМПОНЕНТЫ

Схема запчастей Komatsu PC300LC-7L - D-A ТОПЛИВН. БАК. ТОПЛИВН. БАК. AND КОМПОНЕНТЫ
5
11
10
13
12
1
7
6
9
8
16
15
14
2
4
3
FIT
1:1
100%

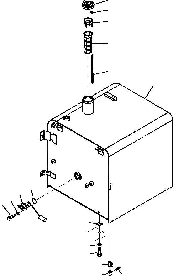
Артикул

Название

Примечание

Количество

1

207-04-71111

TANK

2

07700-50345

VALVE

3

154-865-1160

ELBOW

4

6138-55-7610

NIPPLE

5

20Y-04-11160

CAP

6

7861-92-5810

SENSOR, FUEL LEVEL

7

07000-13050

O-RING

8

01010-80612

BOLT

9

01643-30623

WASHER

|$9

22U-04-21241

STRAINER ASSEMBLY

|$10

22U-04-21200

FLOAT ASSEMBLY

10

22U-04-21210

GUIDE

11

20Y-04-21580

CAP

12

22U-04-21220

FLOAT

13

07056-18425

STRAINER

14

01010-81635

BOLT

15

01643-31645

WASHER

16

195-03-11570

SHIM, 1.0 MM

Выбрано товаров: 18