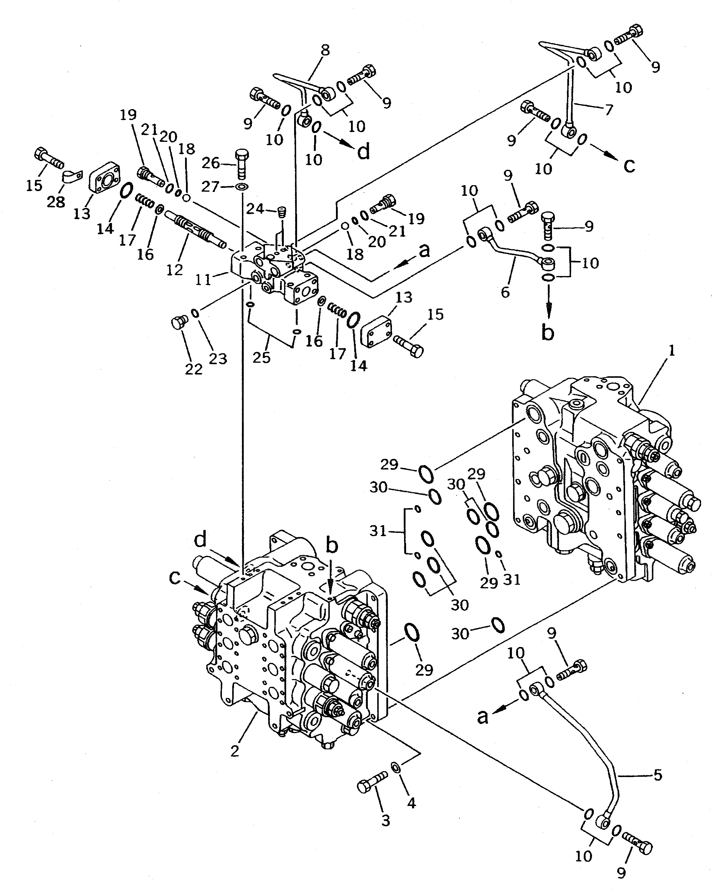
Запчасти Komatsu PC300LC УПРАВЛЯЮЩ. КЛАПАН (/7) УПРАВЛ-Е РАБОЧИМ ОБОРУДОВАНИЕМ

Схема запчастей Komatsu PC300LC - УПРАВЛЯЮЩ. КЛАПАН (/7) УПРАВЛ-Е РАБОЧИМ ОБОРУДОВАНИЕМ
FIT
1:1
100%

Артикул

Название

Примечание

Количество

|$0

709-99-13104

CONTROL VALVE ASS'Y

|$1

709-99-13103

CONTROL VALVE ASS'Y

|$2

709-99-13102

CONTROL VALVE ASS'Y

1

709-95-93104

VALVE ASS'Y

1

709-95-93103

VALVE ASS'Y

1

709-95-93102

VALVE ASS'Y

2

709-94-93103

VALVE ASS'Y

2

709-94-93102

VALVE ASS'Y

3

01010-51250

BOLT

4

01643-31232

WASHER

5

709-99-11132

TUBE

6

709-99-11111

TUBE

7

709-99-11141

TUBE

8

709-99-11121

TUBE

9

709-79-11190

BOLT

10

07000-02011

O-RING

|$17

709-70-91901

SHUTTLE VALVE ASS'Y

|$18

709-70-91900

SHUTTLE VALVE ASS'Y

11

BODY

12

SPOOL

13

709-70-91150

PLATE

14

07000-13025

O-RING

15

01010-50825

BOLT

16

706-73-77140

PLATE

17

709-70-91240

SPRING

17

709-70-91130

SPRING

18

04260-00952

BALL

19

709-70-91220

PLUG

20

07000-01007

O-RING

21

07002-01423

O-RING

22

07040-11409

PLUG

23

07002-01423

O-RING

24

07043-70108

PLUG

25

07000-11009

O-RING

26

01010-50855

BOLT

27

01643-30823

WASHER

28

08036-30810

CLIP

29

07000-13040

O-RING

30

07000-13032

O-RING

31

07000-02010

O-RING

Выбрано товаров: 40