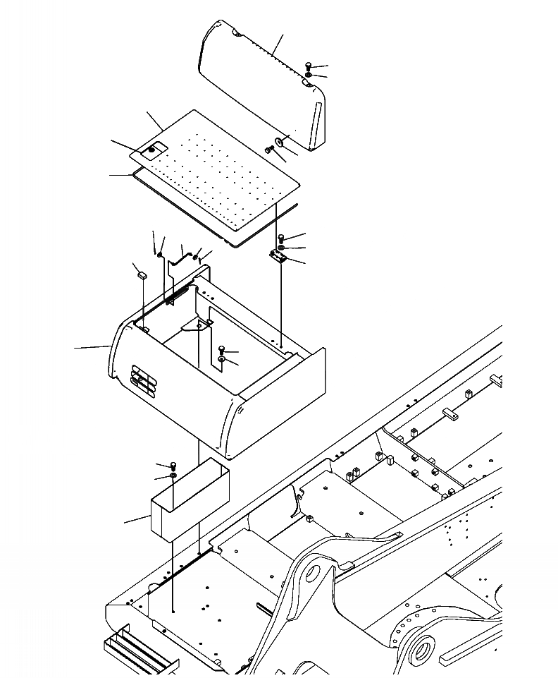
Запчасти Komatsu PC300LL-7E0 M-H АККУМУЛЯТОРН. ОТСЕК ЧАСТИ КОРПУСА

Схема запчастей Komatsu PC300LL-7E0 - M-H АККУМУЛЯТОРН. ОТСЕК ЧАСТИ КОРПУСА
1
20
21
4
6
19
18
7
10
9
11
2
9
10
12
8
5
3
16
17
14
15
13
FIT
1:1
100%

Артикул

Название

Примечание

Количество

1

207-54-77451

COVER

2

203-54-56630

ROD

3

207-54-A1830

COVER

4

207-54-77430

COVER

5

20Y-54-74161

HINGE (WELDED)

6

421-54-11372

LOCK ASSEMBLY (WELDED)

7

208-54-71470

SEAL

8

20Y-54-29680

SHEET

9

01643-30623

WASHER

10

04050-11612

PIN

11

01010-81020

BOLT

12

01643-31032

WASHER

13

207-54-77441

TOOL BOX

14

01010-81230

BOLT

15

01643-31232

WASHER

16

01010-81230

BOLT

17

175-54-34170

WASHER

18

01010-81230

BOLT

19

175-54-34170

WASHER

20

01010-81230

BOLT

21

01643-31232

WASHER

Выбрано товаров: 21