Качественные детали и логистика
Оригинальные и аналоговые запчасти с доставкой по России, Казахстану и Беларуси
©2022 PartSell ООО "Система" ИНН 2463123282 ОГРН 1212400004838
Центральный офис: г. Красноярск, Академика Киренского, д.87, пом.4
Телефон: 8 (800) 777-65-74 Email: zakaz@partsell.ru
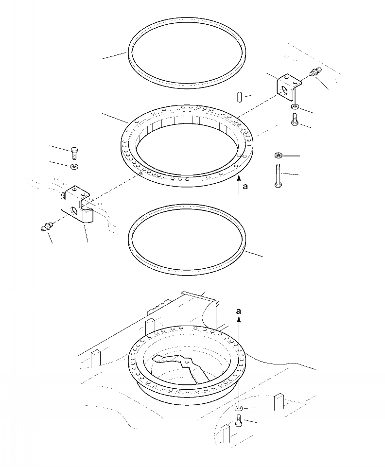
N-A ПОВОРОТН. КРУГ
№
Артикул
Название
Примечание
Количество
1
208-25-61100
SWING CIRCLE ASSEMBLY
2
207-25-61160
SEAL
3
207-25-31180
BOLT
4
01643-72460
WASHER
5
04020-01842
PIN
6
07020-00000
FITTING
7
208-25-71230
8
01643-72780
9
207-25-A1330
PLATE
10
01010-81235
11
01643-31232
12
207-25-A1340
Выбрано товаров: 0