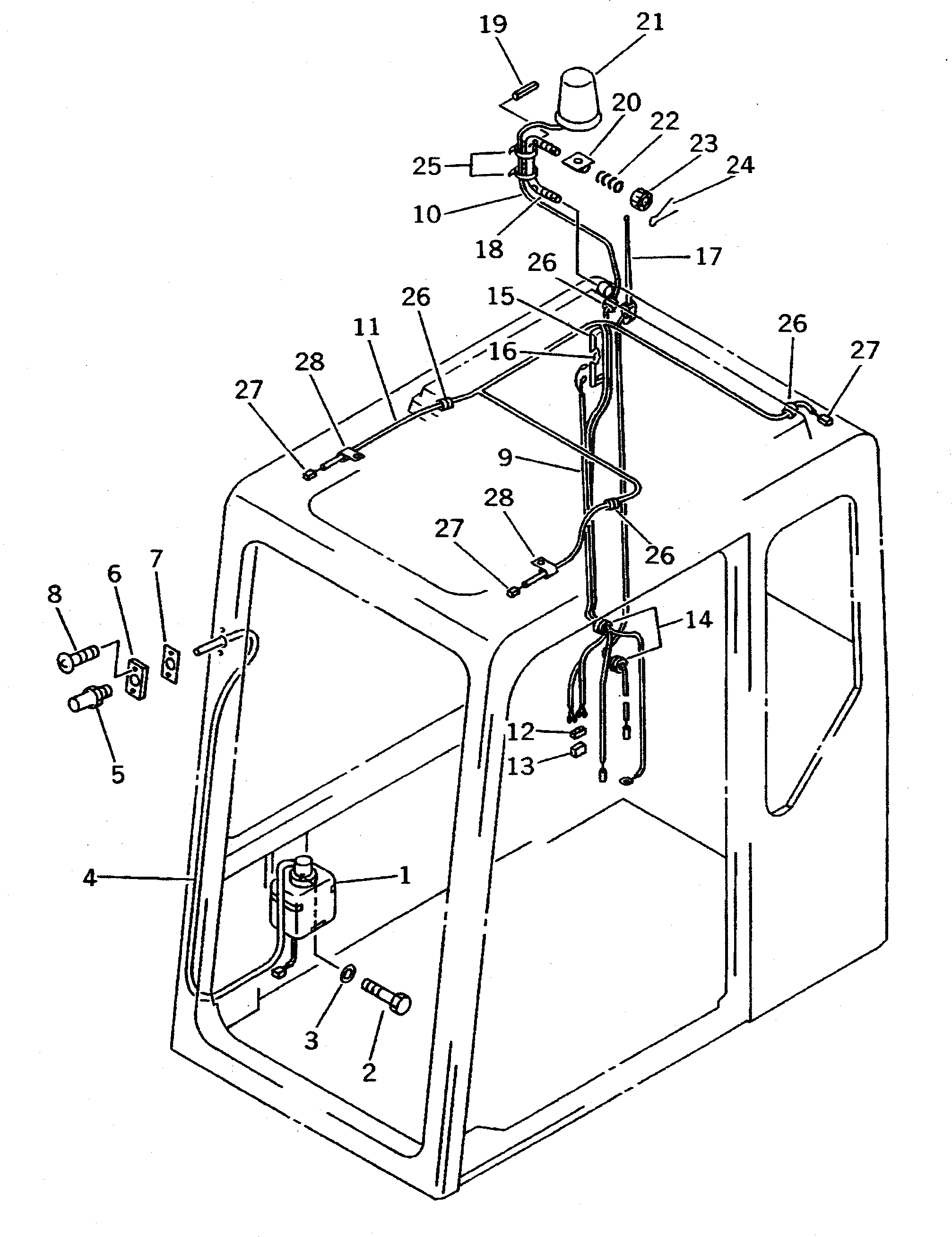
Запчасти Komatsu PC300NLC-5K КАБИНА (/) (ОМЫВАТЕЛЬ СТЕКЛА И ЭЛЕКТРИКА)(SCANDINAVIAN СПЕЦ-Я.)(№K-.) ЧАСТИ КОРПУСА

Схема запчастей Komatsu PC300NLC-5K - КАБИНА (/) (ОМЫВАТЕЛЬ СТЕКЛА И ЭЛЕКТРИКА)    (SCANDINAVIAN СПЕЦ-Я.)(№K-.) ЧАСТИ КОРПУСА
FIT
1:1
100%

Артикул

Название

Примечание

Количество

|1

20Y-54-K1201

OPERATOR'S CAB ASS'Y

1

20Y-54-K2150

WASHER TANK ASS'Y,WITH MOTOR

2

01016-20512

BOLT

3

01641-20508

WASHER

4

20Y-54-K2160

TUBE

5

20Y-54-K2350

NOZZLE

6

20Y-54-K2360

HOLDER

7

20Y-54-K2370

SEAL

8

20Y-54-K2380

SCREW

9

20Y-54-K2170

CABLE

10

20Y-54-K2970

WIRING HARNESS

11

20Y-54-K2960

WIRING HARNESS

12

08056-00230

HOLDER

13

08056-00211

BODY

14

20Y-54-K2180

GROMMET

15

20Y-54-K2260

LAMP,ROOM

16

20Y-54-K2630

BULB

17

20Y-54-K2460

ANTENNA

18

20Y-54-K2980

BAR

19

04025-00524

PIN,SPRING

20

20Y-54-K2990

BRACKET

21

20Y-54-K2940

LAMP,BEACON

22

20Y-54-K3110

SPRING

23

01590-31215

NUT

24

04050-13025

PIN,COTTER

25

08034-10310

BAND

26

20Y-54-K3140

GLAND

27

08027-11260

CONNECTOR

28

20Y-54-K2820

CLIP

Выбрано товаров: 29