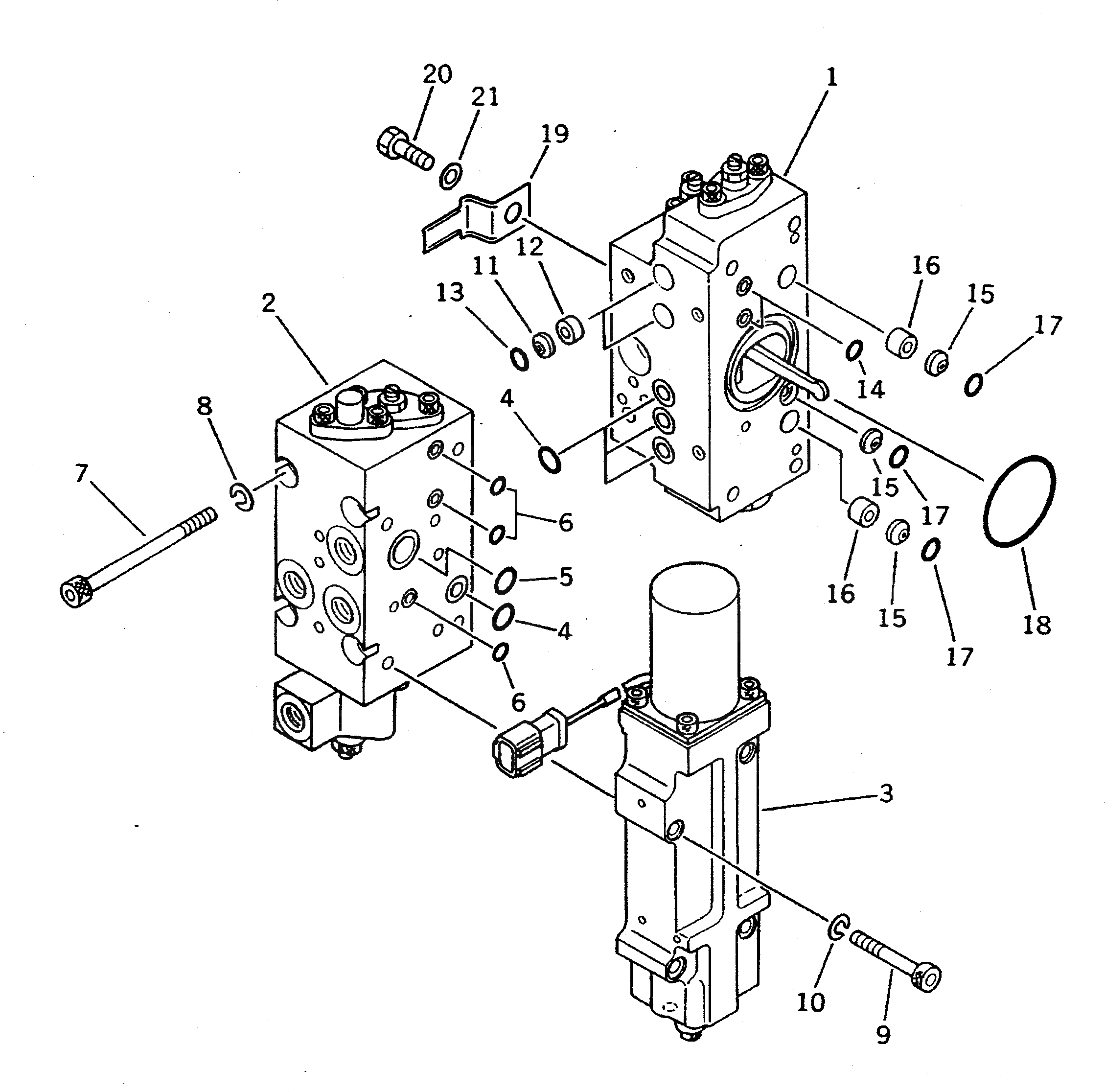
Запчасти Komatsu PC300NLC-5K ГИДР. НАСОС. (8/) (СЕРВОКЛАПАН¤ ПЕРЕДН.) (/) УПРАВЛ-Е РАБОЧИМ ОБОРУДОВАНИЕМ

Схема запчастей Komatsu PC300NLC-5K - ГИДР. НАСОС. (8/) (СЕРВОКЛАПАН¤ ПЕРЕДН.) (/) УПРАВЛ-Е РАБОЧИМ ОБОРУДОВАНИЕМ
FIT
1:1
100%

Артикул

Название

Примечание

Количество

|1

708-27-04013

HYDRAULIC PUMP ASS'Y

|1

708-27-08111

SERVO VALVE ASS'Y,FRONT

1

708-27-08311

SERVO VALVE SUB A.

2

708-27-08511

VALVE ASS'Y,CO AND NC

3

708-27-08711

VALVE ASS'Y

4

07000-02011

O-RING

5

07000-02018

O-RING

6

07000-11009

O-RING

7

708-25-19160

BOLT

8

01602-20825

WASHER,SPRING

9

708-25-18130

BOLT

10

01602-20825

WASHER,SPRING

11

720-68-11920

FILTER

12

708-25-19191

ORIFICE

13

07000-12010

O-RING

14

07000-11009

O-RING

15

720-68-11920

FILTER

16

708-25-19150

ORIFICE

18

07000-12010

O-RING

17

07000-03048

O-RING

19

08053-01512

CLIP

20

01010-30812

BOLT

21

01643-30823

WASHER

Выбрано товаров: 23